11.1 实现功能
在Peo/e中利用焊接模块进行设计可以实现以下功能
建和修改组件中的简单和复合焊缝。焊缝几何可以是实焊或轻焊。
准备焊接边以及创建焊接凹槽。
隐藏或显示组件中的焊缝。
定义焊接工艺参数。
创建带焊接符号的组件绘图。
获取有关焊缝(包括位置、质量、体积和尺寸)的一般和特定信息。
生成带有焊条和焊缝信息的 Pro/REPORT 表。
11.2主要步骤
典型的“焊接”进程可能包括以下步骤:
1. 进入“组件”模式并检索或创建组件,将参照零件输入到焊接环境中。
2. 通过定义焊条、工艺及参数来定义焊接环境。
3. 确定要否要焊接、坡口加工或创建焊接凹槽,或者将三种操作组合在一起。
4. 定义要在零件或组件上执行的焊接、坡口加工或凹槽的类型。
5. 确定族表配置。族表提供了在普通零件中,或零件的实例及其组件中生成切口的功能。
6. 确定是否要您的焊缝或特征包含实焊或轻焊几何。
7. 定义坡口加工切口、凹槽或焊缝尺寸。
8. 设置其它任何参数或焊接工艺。
9. 通过焊接组件的绘图和对焊接接头进行注释,细化焊接装配。
10. 生成材料清单 (BOM) 或带有焊缝参数的 Pro/REPORT 表,或者生成这两者。
11.3“焊接”在Pro/E中的实现
在Pro/E中可定义【焊缝】(Weld)、【坡口加工】(Edge Preparation) 或【焊接凹槽(Weld Notch) 等焊接特征。所示下面对这三种焊缝特征做逐一介绍:
11.3.1【坡口加工】 (Edge Preparation)
坡口加工指的是沿着金属表面的边去除材料。当零件和组件要求有一定强度时,必须为焊接加工坡口。要完全焊透,必须切除金属边。焊缝会填补切除掉的材料,使得要接合的零件成为一体。 以下为可用的坡口加工类型,如表13-1所示:
表11-1 坡口加工类型
11.3.2【焊接】 (Weld)坡口加工仅适用于某些类型的焊缝。例如,钝边间隙加工可用于 I 形坡口、V 形坡口、斜坡口、U 形坡口、J 形坡口、喇叭形坡口和半喇叭形坡口焊缝。斜切口加工可用于 V 形坡口和斜坡口焊缝。
焊接通过加热或在高熔点时使用焊料,或同时使用这两种方法将金属连接到一起。在“焊接”(Welding) 中,可通过在组件模式下打开的零件来创建焊缝。焊缝作为装配特征创建于顶级组件中。焊缝和特征几何被表示为具有高级复杂程度的面组。
请考虑下列有关焊接特征的内容:
· 焊缝特征不改变焊接元件的几何。进行焊接前,请确认要焊接的元件外形合适。
· 添加一道焊缝不会合并参照元件。当检索组件中焊接的元件时,其几何保持不变。
· 焊缝是参数化定义的特征。它们与参照几何相关,并且可作为其它标准 Pro/ENGINEER 特征进行操控。
· 焊缝表面在组件中表示为面组。面组代表相连非实体曲面的拼接体,可由单个曲面或是曲面集组成。
可以使用下列焊接类型如表11-2所示
表11-2 焊接类型
角焊是右三角形剖面,用于连接两段相互垂直或近似垂直的材料。在“模型树”中,“实角焊缝”用 表示而“轻角焊缝”则用 表示。我们对角焊、塞焊和点焊做展开介绍
表11-3 角焊缝示意图
焊缝类型 | 示例 | 关键尺寸 |
角焊缝(T 形接头) |
| L1 - 第一焊脚距离 |
角焊缝(角接接头) |
| L1 - 第一焊脚距离 |
塞焊通过孔将一段材料表面连接到另一段材料。孔可以部分填充也可以全部填充焊接金属。在“模型树”中,用
代表塞焊。
下表显示了塞焊的关键尺寸:
表11-4 塞焊关键尺寸
焊缝类型 | 示例 | 关键尺寸 |
塞焊 |
| P - 熔深/高度 |
点焊是两段搭接材料之间的接头(或焊缝)。点焊通常用于钣金件。
要创建点焊,需要参照基准点。可以选取现有的基准点,也可在确定焊缝路径的过程中创建基准点。创建点焊的方法有两种:
·定义多个点焊位置,在一次操作中创建多条焊缝。
·创建单个点焊,然后用“阵列”(Pattern) 命令将其排列。
下表显示了点焊的关键尺寸:
表11-5 点焊关键尺寸
焊缝类型 | 示例 | 关键尺寸 |
点焊 |
| P - 熔深/高度 R = ÖXA/P
|
点焊显示为圆形曲面。系统依据用户在定义焊缝参数时输入的 X_SECTION_AREA 参数值计算该圆的直径。要修改点焊的大小,需要修改 X_SECTION_AREA 参数。可以建立一个关系式以控制焊缝面积。
该文章所属专题:Pro/E工程图教程
11.3.3【凹槽】 (Notch)
焊接凹槽是一个开口(切口),使焊缝能够不间断地通过组件元件。标准和用户定义的凹槽形状均可使用户在设计中对焊接凹槽进行自动操作和标准化,从而确保设计取得一致性并节省时间。
可创建单一焊接凹槽,或将焊接凹槽与坡口加工和焊缝特征组合在一起。如果要同时创建焊缝特征,则只能将焊接凹槽和坡口加工组合到一起。
通过手动指定其单独参照(尺寸、位置、方向和相交零件),可创建焊接凹槽,或者通过将焊接凹槽参照到实焊或轻焊缝,可自动采用焊接凹槽参照。
焊接凹槽使用坐标系定向。x 和 y 平面是焊接凹槽的放置平面,z 轴定义移除材料的方向。这种自动定向非常精确。有些情况下,这种定向方式可能不满足设计需要。如果需要定制焊接凹槽方向,请定义替代坐标系,然后修改焊接凹槽的定向剖面。
一个焊接凹槽不允许与一个装配元件零件多次相交。要在零件上创建多次相交,请创建多个焊接凹槽特征。第一个焊接凹槽特征可自动创建,然后应使用定义它们在元件零件上的位置和方向的坐标系创建其它凹槽特征。
表11-6 凹槽特征
多个焊接凹槽相交 |
|
1 第一个焊接凹槽特征 2 其他焊接凹槽特征 |
11.3.4实例介绍
在ProE中如何使用这个焊接呢,下面我们以角焊实焊为例来看看具体的操作流程:
步骤一:进入焊接模式(组件才有焊接):单击工具栏【应用程序】下拉列表选择【焊接】

图11.1 进入焊接模块 图11.2 创建焊缝
步骤二:开始创建焊缝,单击
或单击【插入】(Insert)>【焊接】(Weld) 以打开【焊缝定义】(WELD
DEFINITION) 对话框,从而从而可定义“焊缝”(Weld)、“坡口加工”(Edge Preparation) 或“焊接凹槽”(Weld
Notch) 等焊接特征。可定义一个特征或同时定义多个焊接特征。 如图11.2所示
步骤三 创建和定义焊条、工艺和参数。如图11.3所示,焊条在“模型树”中由
标识,是形成焊道所必需的焊接材料。焊条的剖面为圆形,并且具有一些预定义的属性,可单击【工具】(Tools)>【焊接】(Weld)>【焊条】(Rod)。对话框定义和编辑焊条。完成好的焊接组件如图11.4所示
步骤四 将组件调入工程图模块用指定模版进行标注,首先建立组件的主视图,然后单击【视图】(View)>【显示和拭除】(Show and Erase)。【显示/拭除(Show/Erase) 对话框打开。
在“类型”(TYPE) 下,单击
,对焊缝进行标注如图11.5所示

图11.3 角焊参数定义 图11.4 完成焊接的组件

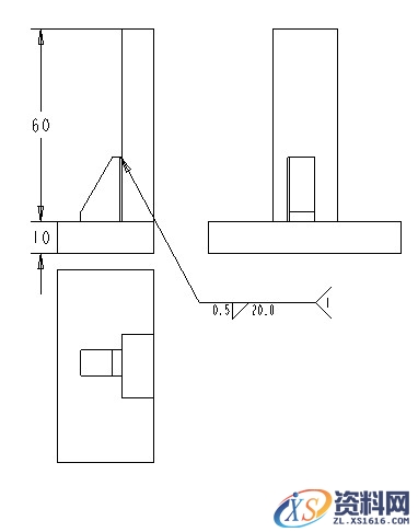
图11.5 对焊缝进行标注
说明: 也可以在工程图中直接创建焊接符号
步骤一:选择【插入】>【符号】>【定制】>选择【ISO符号】>选择相应的焊接符号。如图11.6所示
步骤二:放置类型一般选择带方向指引,选择边标注。选择相应的组别,改变可变文本。选择相应的边,点中键放置符号。如图11.7所示
步骤三:符号完成后也可以通过点击符号,按右键修改属性,可以对符号的属性进行修改。

图11.6 自定义焊接符号

图11.7 添加边焊符号
该文章所属专题:Pro/E工程图教程
1;所有标注为智造资料网zl.fbzzw.cn的内容均为本站所有,版权均属本站所有,若您需要引用、转载,必须注明来源及原文链接即可,如涉及大面积转载,请来信告知,获取《授权协议》。
2;本网站图片,文字之类版权申明,因为网站可以由注册用户自行上传图片或文字,本网站无法鉴别所上传图片或文字的知识版权,如果侵犯,请及时通知我们,本网站将在第一时间及时删除,相关侵权责任均由相应上传用户自行承担。
[complaint:内容投诉]
智造资料网打造智能制造3D图纸下载,在线视频,软件下载,在线问答综合平台 » Pro/E工程图教程-(11)Pro/E焊接(图文教程)






