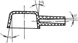
各种常用塑料件的脱模斜度推荐值
| |
塑 料 件 种 类 | 脱模斜度α |
热固性塑料压塑成型 | 1°~1°30′ |
热固性塑料注射成型 | 20′~1° |
聚乙烯、聚丙烯、软聚氯乙烯 | 30′~1° |
ABS、改性聚苯乙烯、尼龙、聚甲醛、氯化聚醚、聚苯醚 | 40′~1°30′ |
聚碳酸酯、聚砜、硬聚氯乙烯 | 50′~1°30′ |
透明聚苯乙烯、改性有机玻璃 | 1°~2° |
本系列内容:
塑胶件结构设计(1)塑料件周边凸凹纹尺寸
塑胶件结构设计(2)镶嵌金属件
塑胶件结构设计(3)加强肋设计
塑胶件结构设计(4)避免应力集中
塑胶件结构设计(5)避免隐藏结构
塑胶件结构设计(6)各种常用塑料件的脱模斜度推荐值
塑胶件结构设计(7)壁厚均匀
免责声明:
1;所有标注为智造资料网zl.fbzzw.cn的内容均为本站所有,版权均属本站所有,若您需要引用、转载,必须注明来源及原文链接即可,如涉及大面积转载,请来信告知,获取《授权协议》。
2;本网站图片,文字之类版权申明,因为网站可以由注册用户自行上传图片或文字,本网站无法鉴别所上传图片或文字的知识版权,如果侵犯,请及时通知我们,本网站将在第一时间及时删除,相关侵权责任均由相应上传用户自行承担。
[complaint:内容投诉]
智造资料网打造智能制造3D图纸下载,在线视频,软件下载,在线问答综合平台 » 塑胶件结构设计(6)各种常用塑料件的脱模斜度推荐值(图文教程) ...
1;所有标注为智造资料网zl.fbzzw.cn的内容均为本站所有,版权均属本站所有,若您需要引用、转载,必须注明来源及原文链接即可,如涉及大面积转载,请来信告知,获取《授权协议》。
2;本网站图片,文字之类版权申明,因为网站可以由注册用户自行上传图片或文字,本网站无法鉴别所上传图片或文字的知识版权,如果侵犯,请及时通知我们,本网站将在第一时间及时删除,相关侵权责任均由相应上传用户自行承担。
[complaint:内容投诉]
智造资料网打造智能制造3D图纸下载,在线视频,软件下载,在线问答综合平台 » 塑胶件结构设计(6)各种常用塑料件的脱模斜度推荐值(图文教程) ...


