几个手机结构设计的注意事项(图文教程)

1、手机之卡勾的设计问题

    卡勾以前是打通的(如图1),这样导致强度不够,容易破裂,ALT(Accelerate Life Test)时无法通过,现在改成封闭式(如图2),加上0.3mm的肉厚,这对于强度有相当大的帮助。

几个手机结构设计的注意事项(图文教程),几个手机结构设计的注意事项,结构设计,教程,第1张       几个手机结构设计的注意事项(图文教程),几个手机结构设计的注意事项,结构设计,教程,第2张                           

图1  改进前的卡勾                图2  改进后的卡勾

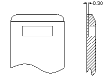
2、美工线设计问题

    手机上美工线一般有以下两种(图3、图4):

几个手机结构设计的注意事项(图文教程),几个手机结构设计的注意事项,结构设计,教程,第3张         几个手机结构设计的注意事项(图文教程),几个手机结构设计的注意事项,结构设计,教程,第4张

         图3  美工线截面图1            图4 美工线截面图2

    图中的(1)、(2)尺寸根据客户的需要给出,一般为0.3~0.5mm。

3、表面效果

    手机外壳UG产品设计时一般会经咬花处理,咬花有深浅之分,如VDI22较浅,VDI27较深,当采用较深咬花时,即使不喷漆,也不会看见结合线,而采用较浅的咬花,不喷漆,就会看见结合线,影响外观。(现在有一种喷砂处理,可以较好地解决塑胶成型过程留下的结合线等瑕疵)

4、按键的设计问题

    手机按键按照材质可以分为以下几种:(1)橡胶按键;(2)塑胶按键;(3)Plastic + Rubber 按键,如图5,两种材料之间用胶水粘合;(4)外层为PC film,内部为橡胶,同样用胶水粘合。

几个手机结构设计的注意事项(图文教程),几个手机结构设计的注意事项,结构设计,教程,第5张

                图5  Plastic + Rubber 按键

    采用不同类型的按键会带来不同的手感,相对而言,较硬的材质手感更好.

该文章所属专题:手机设计

免责声明:
1;所有标注为智造资料网zl.fbzzw.cn的内容均为本站所有,版权均属本站所有,若您需要引用、转载,必须注明来源及原文链接即可,如涉及大面积转载,请来信告知,获取《授权协议》。
2;本网站图片,文字之类版权申明,因为网站可以由注册用户自行上传图片或文字,本网站无法鉴别所上传图片或文字的知识版权,如果侵犯,请及时通知我们,本网站将在第一时间及时删除,相关侵权责任均由相应上传用户自行承担。
[complaint:内容投诉]
智造资料网打造智能制造3D图纸下载,在线视频,软件下载,在线问答综合平台 » 几个手机结构设计的注意事项(图文教程)