压缩模的脱模(推出)机构与注射模相似,常见的有推杆脱模机构、推管脱模机构、推件板脱模机构等。
6-4-1 固定式压缩机构设计
1. 脱模机构的分类
压缩模的脱模机构按动力来源可分为机动式、气动式、手动式三种。
(1)气动式
气动式脱模机构如图6-27所示,即利用压缩空气直接将塑件吹出模具。当采用溢式压缩模或少数半溢式压缩模时,如果塑件对型腔的粘附力不大,则可采用气吹脱模方式。气吹脱模适用于薄壁壳形塑件。当薄壁壳形塑件对凸模包紧力很小或凸模斜度较大时,开模后塑件会留在凹模中,这时压缩空气吹入塑件与模壁之间因收缩而产生的间隙里,将使塑件升起,如图6-27a所示。图6-27b为一矩形塑件,其中心有一孔,成型后压缩空气吹破孔内的溢边,压缩空气便会钻入塑件与模壁之间,使塑件脱出。

图6-27 气吹脱模
(2)手动式
手动式脱模机构是利用人工通过手柄,用齿轮齿条传动机构或卸模架等将塑件脱模。图6-28所示为摇动压力机下方带有齿轮的手柄,齿轮带动齿条上升进行脱模的形式。

图6-28 压力机中的手动推顶装置
1-推杆;2-压力机下工作台;3-手柄;4-齿轮;5-齿条
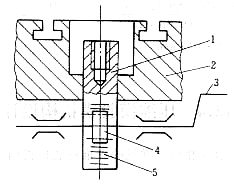
(3)机动式
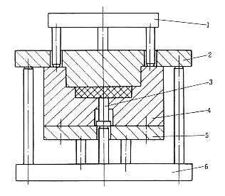
机动式脱模机构如图6-29所示。图6-29a所示是利用压力机下工作台下方的顶出装置推出脱模的形式;图6-29b所示是利用上横梁中的拉杆1随上横梁(上工作台)上升带动托板4向上移动而驱动推杆6推出脱模。

图6-29 压力机推顶装置
l-拉杆;2-压力机工作台;3-活塞杆(顶杆);4-托板;5-液压缸;6-推杆
2. 脱模机构与压力机的连接方式
压力机有的带顶出装置有的不带顶出装置,不带顶出装置的压力机适用于移动式压缩模。当必须采用固定式压缩模和机动顶出时,可利用压力机上的顶出装置使模具上的推出机构工作推出塑件。当压力机带有液压顶出装置时,液压缸的活塞杆即为压力机的顶杆,一般活塞杆上升的极限位置是其端部与工作台表面相平齐的位置。压力机的顶杆与压缩模脱模机构的连接有间接连接和直接连接两种方式。
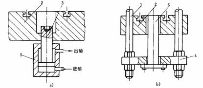
(1)间接连接
当压力机顶杆端部上升的极限位置只能与工作台面平齐时,必须在顶杆端部旋入一适当长度的尾轴。尾轴的另一端与压缩模脱模机构无固定连接,如图6-30a所示,尾轴也可以反过来利用螺纹与模具推板相连,如图6-30b所示,但这两种形式都要设计复位杆等复位机构。

图6-30 与压力机顶杆不相连的推出机构
l-下模座板;2-挡销;3-尾轴;4-压力机顶杆
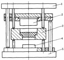
(2)直接连接
如图6-31所示,压力机的顶出机构与压缩模脱模机构通过尾轴固定连接在一起.这种方式在压力机下降过程中,能带动脱模机构复位,故不必再设复位机构。
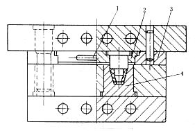
机动脱模一般应尽量让塑件在分型后留在压力机上有顶出装置的模具一边,然后采用推出机构将塑件从模具中推出。为了保证塑件准确地留在模具一边,在满足使用要求的前提下可适当地改变塑件的结构特征,如图6-32所示。为使塑件留在凹模内,图6-32a所示的薄壁件可增加凸模的脱模斜度,减少凹模的脱模斜度;有时也可将凹模制成轻微的反斜度(3’~5’),如图6-32b所示;图6-32c是在凹模型腔内开设0.1~0.2mm的侧凹槽,使塑件留在凹模,开模后塑件从凹模内被强制推出;为了使塑件留在凸模上,可采取与上述相反的方法,图6-32d所示在凸模上开出环形浅凹槽,开模后塑件由上推杆强制脱出。

图6-31 与压力机顸杆相连的推出机构

图6-32 使塑件留模的方法
该文章所属专题:塑料模具设计教程
6-4-2 半固定式压缩模的脱模机构
半固定式压缩模是指压缩模的上模或下模可以从压力机上移出,在上模或下模移出后,再进行塑件脱模和嵌件安装。
(1)带活动上模的压缩模
这类模具可将凸模或模板制成沿导滑槽抽出的形式,故又称抽屉式压缩模.如图6-33所示,开模后塑件留在活动上模2上,用手把l沿导滑板3把活动上模拉出模外取出塑件,然后再把活动上模送回模内。

图6-33 上模活动的压缩模
l-手把;2-活动上模;3-导滑板;4-凹模
(2)带活动下模的压缩模
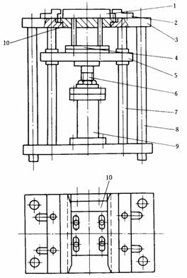
这类模具的上模是固定的,下模可以移出,图6-34所示为一典型的模外脱模机构。该脱模机构工作台3与压力机工作台等高,工作台支承在四根立柱8上。在脱模工作台3上装有宽度可调节的导滑槽2,以适应不同模具宽度。在脱模工作台正中装有推出板4、推杆和推杆导向板10,推杆与模具上的推出孔相对应,当更换模具时则应调换这几个零件。工作台下方设有液压推出缸9,在液压缸活塞杆上段有调节推出高度的丝杠6,为了使脱模机构上下运动平稳而设有滑动板5,该板上的导套在导柱7上滑动。为了将模具固定在正确的位置上,设有定位板1和可调节的定位螺钉。开模后将活动下模的凸肩滑人导滑槽2内,并推到与定位板相接触的位置。开动推出液压缸,推出塑件,待清理和安装嵌件后,将下模重新推入压力机的固定槽中进行下一模的压缩生产。当下模重量较大时,可以在工作台上沿模具拖动路径设滚柱或滚珠,使下模拖动轻便。

图6-34 模外液压推顸脱模机构
l-定位板;2-导滑槽;3-工作台;4-推出板;5-滑动板;6-丝杠;7-导柱;8-立柱;
9-液压缸;10-推杆导向板
该文章所属专题:塑料模具设计教程
6-4-3 移动式压缩模脱模机构
移动式压缩模的脱模方式分为撞击架脱模和卸模架脱模两种形式。
1. 撞击架脱模
撞击架脱模如图6-35所示。压缩成型后,将模具移至压力机外,在特定的支架上撞击,使上下模分开,然后用手工或简易工具取出塑件。撞击架脱模的特点是模具结构简单,成本低,可几副模具轮流操作,生产率高。该方法的缺点是劳动强度大,振动大,而且由于不断撞击,易使模具过早地变形磨损,因此只适用于成型小型塑件。撞击架脱模的支架形式有两种,如图6-36所示,图6-36a所示是固定式支架,图6-36b所示是尺寸可调节的支架。

图6-35 撞击架脱模
1-模具;2-支架

图6-36 支架形式
2. 卸模架卸模
移动式压缩模可在特制的卸模架上利用压力机的压力进行开模和卸模,这种方法可减轻劳动强度,提高模具使用寿命。对开模力不大的模具可采用单向卸模,对于开模力大的模具要采用上下卸模架卸模,上下卸模架卸模有下列几种形式:
(1)单分型面卸模架卸模
单分型面卸模架卸模方式如图6-37所示。卸模时,先将上卸模架1、下卸模架6的推杆插入模具相应的孔内。在压力机内,当压力机的活动横架即上工作台压到上卸模架或下卸模架时,压力机的压力通过上下卸模架传递给模具,使得凸模2和凹模4分开,同时,下卸模架推动推杆3推出塑件,最后由人工将塑件取出。

图6-37 单分型面卸模架卸模
1-上卸模架;2-凸模;3-推杆;4-凹模;5-下模座板;6-下卸模架
(2)双分型面卸模架卸模
双分型面卸模架卸模方式如图6-38所示。卸模时,先将上卸模架1、下卸模架5的推杆插入模具的相应孔中。压力机的活动横梁压到上卸模架或下卸模架时,上下卸模架上的长推杆使上凸模2、下凸模4和凹模3分开。分模后,凹模3留在上下卸模架的短推杆之间,最后在凹模中取出塑件。
图6-38 双分型面卸模架卸模
l-上卸模架;2-凸模;3-凹模; 4-下凸模;5-下卸模架
(3)垂直分型卸模架卸模
垂直分型卸模架卸模方式如图6-39所示。卸模时,先将上卸模架l、下卸模架6的推杆插入模具的相应孔中。压力机的活动横梁压到上卸模架或下卸模架时,上下卸模架的长推杆首先使下凸模5和其它部分分开,当到达一定距离后,再使上凸模2,模套4和凹模3分开。塑件留在瓣合凹模中,最后打开瓣合凹模取出塑件。

图6-39 垂直分型卸模架卸模
1-上卸模架;2-上凸模;3-瓣合凹模;4-模套;5-下凸模;6-下卸模架
该文章所属专题:塑料模具设计教程
1;所有标注为智造资料网zl.fbzzw.cn的内容均为本站所有,版权均属本站所有,若您需要引用、转载,必须注明来源及原文链接即可,如涉及大面积转载,请来信告知,获取《授权协议》。
2;本网站图片,文字之类版权申明,因为网站可以由注册用户自行上传图片或文字,本网站无法鉴别所上传图片或文字的知识版权,如果侵犯,请及时通知我们,本网站将在第一时间及时删除,相关侵权责任均由相应上传用户自行承担。
[complaint:内容投诉]
智造资料网打造智能制造3D图纸下载,在线视频,软件下载,在线问答综合平台 » 塑料模具设计教程_6-4压缩模脱模机构设计(图文教程)

