当塑件在与开合模方向不同的内侧或外侧有孔、凹穴或凸台时,模具上成型该处的零件必须制成可侧向移动的结构,以便在塑件脱模推出之前先将侧向成型零件抽出,否则塑件就无法脱模。带动侧向成型零件做侧向分型与抽芯和复位的整个机构称为侧向分型与抽芯机构。在学习时应通过对各种典型结构的结构形式、动作原理、制造和应用过程中优缺点的对比分析,掌握侧向分型与抽芯机构的设计技巧。
5-7-1 侧向分型与抽芯机构 基础知识及分类
一 侧向分型与抽芯机构分类
根据侧向抽芯动力来源的不同,侧向分型与抽芯机构一般可分为手动、液压(或气动)和机动等三大类。
1. 手动侧向分型与抽芯机构
手动侧向分型与抽芯机构是利用人工对模具进行侧向分型与抽芯,可分为模内侧向分型与抽芯和模外侧向分型与抽芯两大类。这类机构操作不方便,工人劳动强度大,生产效率低,而且受人力限制难以获得较大的抽芯力,但模具结构简单,成本低,常用于产品的试制、小批量生产或无法采用其它侧向抽芯机构的场合。由于丝杠螺母传动副能获得比较大的抽芯力,因而这种抽芯方式在手动侧向抽芯中应用较多。
2. 液压(或气动)侧向分型与抽芯机构
液压(或气动)侧向分型与抽芯机构是利用压力油(或压缩空气)作为动力,在模具上配制专门的抽芯液压缸(或气缸),依靠液压缸(或气缸)的活塞来回运动实现侧向分型与抽芯及复位。这类机构动作比较平稳,抽拔力大,抽芯距较长,且抽芯的时间顺序可以根据需要自由设置。现代注射机通常带有抽芯的液压管路及控制系统,所以采用液压作侧向分型与抽芯十分方便。
3. 机动侧向分型与抽芯机构
机动侧向分型与抽芯机构在开模时利用注射机的开模力作为动力,通过机械传动零件(如斜导柱、弯销等)将力作用于侧向成型零件,使其侧向分型或将其侧向抽芯;合模时又通过传动零件使侧向成型零件复位。这类机构虽然结构比较复杂,但其抽芯力大,生产效率高,容易实现自动化生产,因此在生产中的应用最为广泛。根据传动零件的不同,机动侧向分型与抽芯机构又可分为斜导柱、弯销、斜导槽、斜滑块和齿轮齿条等不同类型,其中以斜导柱侧向分型与抽芯机构最为常用。
二 抽芯力的确定
由于塑料包紧在侧向型芯或粘附在侧向型腔上,因此在各类侧向分型与抽芯机构中,进行侧向分型与抽芯时必然会遇到抽拔阻力,侧向分型与抽芯的力(或称抽拔力)一定要大于抽拔阻力。
影响抽芯力大小的因素很多,也很复杂,归纳起来有以下几个方面:成型塑件侧向凹凸形状的表面积愈大,表面的几何形状越复杂,所需的抽芯力越大;侧型芯部分的塑件壁厚越大,则凝固收缩越大,所需抽芯力越大;同一抽芯机构上侧型芯越多,所需抽芯力越大;侧型芯成型部分的脱模斜度越小,所需抽芯力越大;压射比压大,对侧型芯的包紧力就会增大,增加抽芯力。另外注射的保压时间、模具温度、涂料喷刷、塑料品种等都会对抽芯力造成影响。
侧向抽拔力可按公式进行计算,即:
。
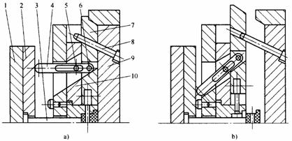
三 抽芯距的确定
在设计侧向分型与抽芯机构时,除了计算侧向抽拔力以外,还必须考虑侧向抽芯距的问题。侧向抽芯距一般比塑件侧凹侧孔的深度或侧向凸台的高度大2~3mm,如图5-7-1所示。用公式表示即为:
(5-7-1)
式中: s——抽芯距,mm;
s,——塑件上侧凹、侧孔的深度或侧向凸台的高度,mm。

图5-7-1 侧向抽芯机构的抽芯距
当塑件的结构比较特殊时,要综合考虑塑件形状及模具结构等因素对抽芯距的影响。如当塑件外形为圆形并采用对开式滑块侧抽芯时(如图5-7-2),其抽芯距为:
(5-7-2)
式中: R——外形大圆的半径,mm;
r——阻碍塑件脱模的外形最小圆半径,mm。

图5-7-2 对开式滑块的抽芯距
该文章所属专题:塑料模具设计教程
5-7-2 斜导柱侧向分型与抽芯机构
斜导柱侧向分型与抽芯机构结构紧凑、动作可靠、制造方便,因此在生产中的应用最广泛,但由于受模具结构和抽芯力的限制,一般使用于抽拔力不大且抽芯距较小的场合。
一 斜导柱侧向分型与抽芯机构的组成及工作原理
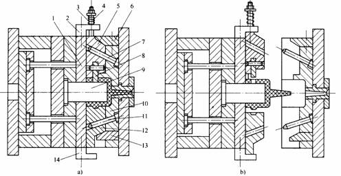
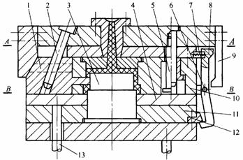
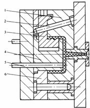
(1)斜导柱侧向分型与抽芯机构的组成 图5-7-9所示为斜导柱侧向分型与抽芯机构。图5-7-9a所示为注射结束后的合模状态;图5-7-9b所示为开模状态。下面以此为例,介绍斜导柱侧向分型与抽芯机构的组成。

图5-7-9 斜导柱侧向分型与抽芯机构的组成
1—推件板;2、14—挡块;3—弹簧;4—拉杆;5—侧滑块;6、13—楔紧块;
7、11—斜导柱;8—侧型芯;9—凸模;10—定模板;12—侧向成型块
1)侧向成型零件
是指成型塑件侧向凹凸(或侧孔)形状的零件,包括侧向型芯和侧向成型块等,如图5-7-9中的侧型芯8、侧向成型块12。
2)运动零件
是指开合模时带动侧向成型块或侧向型芯并在模具导滑槽内运动的零件,如图5-7-9中的侧滑块5、侧向成型块12。
3)传动零件
是指开模时带动运动零件作侧向分型或抽芯,合模时又使之复位的零件,如图5-7-9中的斜导柱7、11。
4)锁紧零件
为了防止注射时运动零件受到侧向胀型力而产生后退位移所设置的零件,称为锁紧零件,如图5-7-9中的楔紧块6、13。
5)限位零件
是指为了使运动零件在侧向分型或侧向抽芯结束后停留在所要求的位置上,保证合模时传动零件能顺利的使其复位而设置的零件,它的作用是既保证抽芯距离,又保证合模时斜导柱准确插入斜孔,使型芯复位。如图5-7-9中的由2、3、4等零件所组成的弹簧拉杆挡块机构。
(2)斜导柱侧向分型与抽芯机构的工作原理
图5-7-9a所示为注射结束后的合模状态,侧滑块5、12分别由楔紧块6、13锁紧;开模时,动模部分向左侧运动,塑件包在凸模上随着动模一起运动,在斜导柱7的作用下,侧滑块5带动侧型芯8在推件板上的导滑槽内向上侧作侧向抽芯。在斜导柱11的作用下,侧向成型块12在推件板上的导滑槽内向下侧作侧向分型。侧向分型结束,斜导柱脱离侧滑块,侧滑块5在弹簧3的作用下紧贴在限位挡块2上,侧向成型块12由于自身的重力紧靠在挡块14上,以便再次合模时斜导柱能准确地插入侧滑块的斜孔中,迫使其复位,如图5-7-9b所示。
二 斜导柱的设计
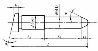
(1)斜导柱的基本形式
斜导柱的基本形式如图5-7-10所示。L1为固定于模板内的部分,与模板内的安装孔采用H7/m6的过渡配合;L2为完成抽芯的工作部分;α为斜导柱的倾斜角;L3为斜导柱端部的导入部分,θ为导入部分的斜角,通常取θ=α+(2~3)°;斜导柱与滑块孔之间保持0.5~1mm的间隙。

图5-7-10 斜导柱的基本形式
(2)斜导柱倾斜角与抽芯距和工作长度之间的关系
在斜导柱侧向分型与抽芯机构中,斜导柱与开合模方向的夹角称为斜导柱的倾斜角α。斜导柱倾斜角的选择不仅与抽芯距和斜导柱的长度有关,而且决定着斜导柱的受力状况。从研究可知,当抽芯阻力一定时,倾斜角α增大时,斜导柱受到的弯曲力增大,但为完成抽芯所需的开模行程减小,斜导柱的工作长度也减小。在确定斜导柱倾角时,通常抽芯距长时α可取大些,抽芯距短时,α可适当取小些;抽芯力大时α可取小些,抽芯力小时α可取大些。因此,斜导柱倾斜角α值的确定应综合考虑。
斜导柱的倾斜角可分两种情况,分述如下:
1)侧型芯滑块抽芯方向与开合模方向垂直时(如图5-7-11所示),通过受力分析与理论计算可知,一般设计时取α≤25°,最常用的是12°≤α≤25°。斜导柱倾角α与抽芯距s、斜导柱工作长度之间的关系如下:
(5-7-3)
(5-7-4)
式中 s——抽芯距,mm;
L4——斜导柱工作部分长度,mm;
α——斜导柱的倾斜角;
H——抽芯距为s时所需的开模行程。

图5-7-11 垂直于开合模方向的抽芯

图5-7-12 不垂直于开合模方向的抽芯
2)侧型芯滑块抽芯方向与开合模方向不垂直时(如图5-7-12所示),只有β角度不大时才能采用。图5-7-12a所示为抽芯方向向动模一侧倾斜β角度的情况,此时影响抽芯效果的有效倾斜角度为α1=α+β,则斜导柱的安装倾斜角α的取值应在α+β≤25°内选取,比不倾斜时要取得小一些;图5-7-12b所示为抽芯方向向定模一侧倾斜β角度的情况,此时影响抽芯效果的有效倾斜角度为α2=α-β,则斜导柱的安装倾斜角α的取值应在α-β≤25°内选取,比不倾斜时要取得大一些。
由图5-7-12可知,无论抽芯方向向动模或定模方向倾斜β角度,都存在以下关系:
(5-7-5)
(5-7-6)
(3)斜导柱长度的计算
斜导柱长度的计算见图5-7-13,其总长度为:
(5-7-7)
将式(5-7-4)代入式(5-7-8)中,根据三角函数关系得到:
(5-7-8)
式中 L——斜导柱总长度,mm;
d2——斜导柱固定部分大端直径,mm;
h——斜导柱固定板厚度,mm;
d——斜导柱工作部分的直径,mm;
s——侧向抽芯距,mm。

图5-7-13 斜导柱的长度
若侧型芯滑块抽芯方向与开合模方向不垂直时,只需把式(5-7-5)代入式(5-7-7)中即可计算出斜导柱的长度。
(4)斜导柱直径的计算
普通斜导柱直径取决于承受的最大弯曲力,因此在斜导柱直径计算之前,应该对斜导柱的受力情况进行分析,计算出斜导柱所受的弯曲力Fw。

图5-7-14 斜导柱的受力分析
斜导柱抽芯时所受弯曲力Fw如图5-7-14a所示。图5-7-14所示为侧型芯滑块的受力分析图。图中F是抽芯时斜导柱通过滑块上的斜孔对滑块施加的正压力,Fw是它的反作用力;抽拔阻力(即脱模力)Ft是抽拔力Fc的反作用力;Fk是开模力,它通过导滑槽施加于滑块;F1是斜导柱与滑块间的磨擦力,方向与抽芯时滑块沿斜导柱运动的方向相反;F2是滑块与导滑槽之间的磨擦力,方向与抽芯时滑块沿导滑槽移动方向相反。设斜导柱与滑块、导滑槽与滑块间的磨擦系数均为μ,可建立如下力的平衡方程:
则
(5-7-9)
则
(5-7-10)
式中 F1 =μF F2 =μFk
由式(5-7-9)和式(5-7-10)解得:
(5-7-11)
由于磨擦力与其它力相比一般很小,常可略去不计(即μ=0),这样上式为:
(5-7-12)
由图5-7-14a可知,斜导柱所受的弯矩为:
(5-7-13)
式中 Mw——斜导柱所受的弯矩;
Fw——斜导柱所受弯曲力;
Lw——斜导柱弯曲力臂。
由材料力学的知识可知:
(5-7-14)
式中 [σw]——斜导柱所用材料的许用弯曲应力,一般碳钢可取3×108Pa;
W——抗弯截面系数。
斜导柱的截面一般为圆形,其抗弯截面系数为:
(5-7-15)
由式(5-7-12)至(5-7-15)可推导出斜导柱的直径为:
(5-7-16)
式中
Hw——侧型芯滑块受到脱模力的作用线与斜导柱中心线交点到斜导柱固定板的距离,它的大小视模具结构而定,并不一定等于滑块高度的一半。
在模具设计中,由于计算比较复杂,所以常用查表的方法来确定斜导柱的直径,具体内容见《塑料模设计手册》。
三 侧滑块的设计

侧滑块是斜导柱侧向分型与抽芯机构中的一个重要的零部件,一般情况下,它与侧向型芯(或侧向成型块)组合成侧滑块型芯,称为组合式侧滑块。在侧型芯简单且容易加工的情况下,也有将侧滑块和侧型芯制成一体的,称为整体式侧滑块。在侧向分型或抽芯过程中,塑件的尺寸精度和侧滑块移动的可靠性都要靠其运动的精度来保证。
使用最广泛的是T形滑块。图5-7-15a所示是T形导滑面设计在滑块底部的形式,侧型芯的中心与T形导滑面较近,抽芯时滑块稳定性较好,常用于较溥的滑块;图5-7-15b所示是T形导滑面设计在滑块中间的形式,使侧型芯的中心尽量靠近T形导滑面,以提高抽芯时滑块的稳定性,适用于较厚的滑块。
在组合式侧滑块结构中,常见的几种侧型芯与侧滑块的连接形式如图5-7-16所示。图5-7-16a和图5-7-16b所示为侧型芯镶入后用圆柱销定位的形式,前者使用单个圆柱销,后者使用两个骑缝圆柱销,如果侧型芯足够大,在其固定端就不必加大尺寸;图5-7-16c所示为侧型芯采用燕尾固定形式;图5-7-16d是片状侧型芯镶入开槽的侧滑块后再用两个圆柱销定位的形式;图5-7-16e适用于多个小型芯的形式,即把各个型芯镶入一块固定板后,用螺钉和销钉将其从正面与侧滑块联接和定位,如果影响成型,螺钉和销钉也可从侧滑块的背面与侧型芯固定板联接和定位。
侧型芯是模具的成型零件,常用T8、T10、45钢、CrWMn等材料制造,热处理硬度要求HRC≥50(对于45钢,则要求HRC≥40)。侧滑块采用45钢、T8、T10等制造,硬度要求HRC≥40。镶拼组合的材料粗糙度为Ra=0.8μm,镶入的配合精度为H7/m6。

图5-7-16 侧型芯与侧滑块的连接形式
四 导滑槽的设计
斜导柱侧向抽芯机构工作时,侧滑块是在有一定精度要求的导滑槽内沿一定的方向作往复移动的。最常用的导滑槽形式是T形槽和燕尾槽,如图5-7-17所示。图5-7-17a为整体式T形槽,结构紧凑,槽体用T形铣刀铣削加工,加工精度要求较高。图5-7-17b、c是整体的盖板式,不过图5-7-17b的导滑槽开在盖板上,图5-7-17c的导滑槽开在底板上;图5-7-17d是局部有盖板的形式;图5-7-17e则设计成侧型芯两侧的单独压块形式,这几种都解决了加工困难的问题。在图5-7-17f中,侧滑块的高度方向仍由T形槽导滑,而其移动方向则由中间所镶入的镶块导滑;图5-7-17g是整体式燕尾槽导滑的形式,导滑精度较高,但加工更困难,为了使燕尾槽加工方便,可将其中一侧的燕尾槽改用局部镶拼的形式。
由于注射成型时,要求滑块在导滑槽内来回移动,因此,对组成导滑槽零件的硬度和耐磨性是有一定要求的。整体式的导滑槽通常在定模板或动模板上直接加工出来,由于动、定模板常用的材料为45钢,为便于加工,常常调质至28~32HRC,然后再铣削成形。盖板的材料常用T8、T10,热处理硬度要求HRC≥50。
在设计导滑槽与侧滑块时,要正确选用它们之间的配合。导滑部分的配合一般采用H8/f8。如果在配合面上成型时与熔融材料接触,为了防止配合处漏料,应适当提高配合精度,可采用配合H8/f7或H8/g7,其余各处均应留有0.5mm左右的间隙。配合部分的粗糙度要求Ra≤0.8μm。
为了让侧滑块在导滑槽内运动灵活,不被卡死,导滑槽和侧滑块要求保持一定的配合长度。侧滑块完成抽拔动作后,其滑动部分仍应全部或部分长度留在导滑槽内,一般情况下,保留在导滑槽内的侧滑块长度不应小于导滑槽总配合长度的2/3。另外,还要求滑块配合导滑部分的长度大于宽度的1.5倍以上。如果因塑件形状特殊和模具结构的限制,侧滑块的宽度反而比其长度大,那么应该增加该侧斜导柱的数量来解决这个问题。

图5-7-17 导滑槽的结构形式
五 楔紧块的设计
在注射成型的过程中,侧向成型零件在成型压力的作用下会使侧滑块向外位移,使塑件的侧向尺寸精度降低,并且侧向胀型力还会通过侧滑块传给斜导柱,严重的会使斜导柱发生变形。因此,在进行斜导柱侧向抽芯机构设计时,必须考虑侧滑块的锁紧问题。
楔紧块的各种结构形式如图5-7-18所示。图15-7-18a是采用销钉定位、螺钉固定的形式,结构简单,加工方便,应用较为广泛,其缺点是承受的侧向力较小;图5-7-18b是楔紧块配合镶入模板中的形式,其刚度有所提高,承受的侧向力也略大;图5-7-18c、d是双楔紧的形式,前者用辅助楔紧块将主楔紧块楔紧,后者采用楔紧锥与楔紧块双重楔紧;图5-7-18e是整体式楔紧的形式,牢固可靠刚性大,适合于侧向力很大的场合,但浪费材料,耗费加工工时,并且加工的精度要求很高,

图5-7-18 楔紧块的结构形式
楔紧块的楔紧角α'(见图5-7-18a)应大于斜导柱的倾斜角α,否则开模时,楔紧块会影响侧抽芯动作的进行。当侧滑块抽芯方向垂直于合模方向时,α'=α+(2~3)°;当侧滑块抽芯方向向动模一侧倾斜β角度时,α'=α+(2~3)°=α1-β+(2~3)°;当侧滑块抽芯方向向定模一侧倾斜β角度时,α'=α+(2~3)°=α2+β+(2~3)°。
六 侧滑块定位装置的设计
为了合模时让斜导柱能准确地插入侧滑块的斜孔中,在开模过程中侧滑块刚脱离斜导柱时必须定位,否则合模时会损坏模具。根据侧滑块所在位置不同,可选择不同的定位形式。图5-7-19所示为侧滑块定位装置常见的几种不同形式。
图5-7-19a所示是利用压缩弹簧的弹力使侧滑块留在限位挡块处的结构形式,俗称弹簧拉杆挡块式,它适合于任何方位的侧向抽芯,尤其适于向上方向的侧向抽芯。弹簧定位的另一种形式见图5-7-19b,它是将弹簧安置在侧滑块的内侧,侧抽芯结束后,在此弹簧的作用下,侧滑块靠在外侧挡块上定位,它适于抽芯距不大的小模具。图5-7-19c所示是适用于向下侧抽芯的结构形式,侧抽芯结束后,利用侧滑块的自重靠在挡块上定位。图5-7-19d所示是弹簧顶销定位的形式,俗称弹簧顶销式,适于水平方向侧抽芯的场合,也可把顶销换成直径为5~10mm的钢珠,称为弹簧钢珠式,适用的场合与其相同。

图5-7-19 侧滑块的定位装置
七 斜导柱侧向分型与抽芯机构的应用形式
斜导柱和侧滑块在模具上的不同安装位置,组成了侧向分型与抽芯机构的不同应用形式,各种不同的应用形式具有不同的特点和需要注意的问题,在设计时应根据塑料制件的具体情况和技术要求合理选用。
(1)斜导柱固定在定模,侧滑块安装在动模
斜导柱固定在定模,侧滑块安装在动模的结构是斜导柱侧向分型与抽芯机构应用最广泛的形式,它既可用于单分型面注射模,也可用于双分型面注射模,在设计具有侧抽芯塑件的模具时,应当首先考虑采用这种形式。
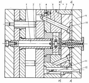
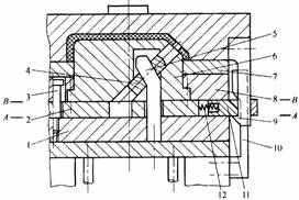
图5-7-20所示是双分型面侧向分型与抽芯的结构形式。斜导柱5固定在中间板8上,为了防止在分模过程中侧向抽芯时斜导柱向后移动,在其固定端设置一块垫板10加以固定。开模时,A分型面首先分型,当分型面之间达到可从中取出点浇口浇注系统凝料时,拉杆导柱11的左端与导套12接触,A分型面分型结束,继续开模,接着B分型面分型,斜导柱5驱动侧型芯滑块6在动模板4的导滑槽内作侧向抽芯,斜导柱脱离滑块后继续开模,最后推出机构开始工作,推管2将塑件从型芯1和动模镶件3中推出。
在双分型面斜导柱侧向抽芯机构中,斜导柱也可以固定在定模座板上,这样在分型时斜导柱就会受力,驱动侧型芯滑块作侧向分型与抽芯。为了保证分型面先分型,必须在定模部分采用定距顺序分型机构,这会增加模具结构的复杂性,所以在设计时尽量不采用这种方式。

图5-7-20 斜导柱固定在定模、侧滑块安装在动模的双分型面注射模
1—型芯;2—推管;3—动模镶块;4—动模板;5—斜导柱;6—侧型芯滑块;
7—楔紧块;8—中间板;9—定模座板;10—垫板;11—拉杆导柱;12—导套
在设计斜导柱固定在定模、侧滑块安装在动模的侧向抽芯机构时,必须注意侧滑块与推杆在合模复位过程中不能发生干涉现象。干涉现象是指在合模过程中侧滑块的复位先于推杆的复位而致使活动侧型芯与推杆相碰撞,造成活动侧型芯或推杆损坏的事故。
侧向滑块型芯与推杆发生干涉的可能性出现在两者在分型面上的投影发生重合的情况,如图5-7-21所示。图5-7-21a所示为合模状态,在侧型芯的投影下面设置有推杆。图5-7-21b所示为合模过程中,斜导柱刚插入侧滑块的斜孔中时斜导柱向右边复位的状态,而此时模具的复位杆还未使推杆复位,这就会发生侧型芯与推杆相碰撞的干涉现象。

图5-7-21 侧滑块型芯与推杆的干涉
在模具结构允许的条件下,应尽量避免在侧型芯的投影范围内设置推杆。如果受模具结构的限制而在侧型芯下一定要设置推杆时,应首先考虑能否使推杆在推出一定距离后仍低于侧型芯的最低面,当这一条件不能满足时,就必须分析产生干涉的临界条件并采取措施使推出机构先复位,然后才允许侧型芯滑块复位,这样才能避免产生干涉现象。

图5-7-22 侧滑块型芯与推杆不发生干涉的条件
1—复位杆;2—动模板;3—推杆;4—侧型芯滑块;5—斜导柱;6—定模座板;7—楔紧块
图5-7-22为分析发生干涉临界条件的示意图。图5-7-22a所示为开模且侧抽芯抽出后推杆推出塑件的状态。图5-7-22b所示是合模复位时,复位杆使推杆复位、斜导柱使侧型芯复位而侧型芯与推杆不发生干涉的临界状态。图5-7-22c所示是合模完毕的状态,侧型芯与推杆在分型面投影范围内重合了Sc。从图中可知,在不发生干涉的临界状态下,侧型芯已经复位了S',还需复位的长度为S-S'=Sc,而推杆需复位的长度为hc,如果完全复位,应满足如下条件:
(5-7-17)
在完全不发生干涉的情况下,需要在临界状态时,侧型芯与推杆还应有一段微小的距离,因此,不发生干涉的条件为:
(5-7-18)
式中 hc——在完全合模状态下推杆端面离侧型芯的最短距离,mm;
Sc——侧型芯与推杆在分型面投影范围内的重合长度,mm;
α——斜导柱的倾斜角。
在一般情况下,只要使hctanα-Sc>0.5mm即可避免干涉,如果实际的情况无法满足这个条件,则必须设计推杆的先复位机构。下面介绍几种常用的先复位机构。
1)弹簧式先复位机构
弹簧先复位机构是利用弹簧的弹力使推出机构在合模之前进行复位的一种先复位机构,即弹簧被压缩地安装在推杆固定板与动模支承板之间,如图5-7-23所示。图5-7-23a为弹簧安装在复位杆上的形式,这是中小型注射模最常用形式。图5-7-23b中,弹簧安装在另外设置的立杆上,这是大型注射模最常采用的形式。图5-7-23c中弹簧直接安装在推杆上,适用于推杆分布比较对称且距离较远的场合。
在弹簧式先复位机构中,一般需用设置4根弹簧并均匀布置在推杆固定板的四周,以便让推杆受力均匀而顺利复位。弹簧先复位机构结构简单,安装方便,所以模具设计者都喜欢采用,但弹簧的力量较小,而且容易疲劳失效,可靠性会差一些,一般只适合于复位力不大的场合,并需要定期检查和更换弹簧。

图5-7-23 弹簧式先复位机构
1—复位杆;2—动模板;3—推杆;4—侧型芯滑块;5—斜导柱;6—定模座板;7—楔紧块
2)楔杆三角滑块式先复位机构
楔杆三角滑块式先复位机构如图5-7-24所示。楔杆1固定在定模内,三角滑块4安装在推管固定板6的导滑槽内。完全合模状态时,楔杆1与三角滑块4的斜面接触,如图5-7-24a所示。图5-7-24b为塑件推出后,刚开始合模时楔杆接触三角滑块的初始状态,在楔杆作用下,三角滑块4在推管固定板6的导滑槽内下移动,同时推动推管固定板向左移动,使推管5的复位先于侧型芯滑块的复位,从而避免两者发生干涉。

图5-7-24 楔杆三角滑块式先复位机构
1—楔杆;2—斜导柱;3—侧型芯滑块;4—三角滑块;5—推管;6—推管固定板
3)楔杆摆杆式先复位机构
楔杆摆杆式先复位机构如图5-7-25所示。图5-7-25a所示为合模状态,摆杆4一端用转轴固定在支承板上,另一端装有滚轮。合模时,在楔杆1推动摆杆上的滚轮,迫使摆杆绕着转轴作逆时针方向旋转,同时它又推动推杆固定板向左移动,使推杆的复位先于侧型芯滑块的复位。为了防止滚轮与推板之间的磨损,在推板上常常镶有淬火过的垫板。

图5-7-25 楔杆摆杆式先复位机构
1—楔杆;2—推杆;3—支承板;4—摆杆;5—推杆固定板;6—推板
图5-7-26所示为楔杆双摆杆式先复位机构。工作时,推杆先复位的速度比楔杆摆杆式先复位机构快,其工作原理与楔杆摆杆式先复位机构相似。

图5-7-26 楔杆双摆杆式先复位机构
1—楔杆;2—推杆;3、5—摆杆;4—支承板;6—推杆固定板;7—推板
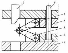
4)连杆式先复位机构
连杆式先复位机构如图5-7-27所示。图5-7-27a所示为合模状态,连杆4以固定在动模板10上的圆柱销5为支点,一端用转轴6安装在侧型芯滑块7上,另一端与推杆固定板2接触。合模时,固定在定模部分的斜导柱向滑块靠近;图5-7-27b所示是斜导柱接触滑块的初始状态,斜导柱一旦开始驱动侧型芯滑块复位,则连杆4必须绕圆柱销5作顺时针方向的旋转,近使推杆固定板2带动推杆3迅速复位,从而避免侧向型芯与推杆发生干涉。
(2)斜导柱固定在动模,侧滑块安装在定模
开模时一般要求塑件留在动模上,但斜导柱固定在动模,侧型芯安装在定模上时,如果侧抽芯与脱模同时进行的话,由于侧型芯在开模方向的阻碍作用使塑件从动模部分强行脱出而留在定模,侧抽芯结束后,使塑件无法从定模型腔中取出,导致模具无法正常工作。因此,斜导柱固定在动模、侧滑块安装在定模的模具特点是侧抽芯与脱模不能同时进行,要么是先侧抽芯后脱模,或者先脱模后侧抽芯。

图5-7-27 连杆式先复位机构
1—推板;2—推杆固定板;3—推杆;4—连杆;5—圆柱销;
6—转轴;7—侧型芯滑块;8—斜导柱;9—定模板;10—动模板

图5-7-28 凸模浮动式斜导柱定模侧抽芯 图5-7-29 弹压式斜导柱定模侧抽芯
1—支承板;2—动模板;3—凸模;4—推件板; 1—动模支承板;2—斜导柱;3—侧型芯;
5—楔紧块;6—斜导柱;7—侧型芯滑块;8—限位销 4—定距螺钉;5—弹簧;6—凸模
图5-7-28所示为先侧抽芯后再脱模的一个典型机构,又称为凸模浮动式斜导柱定模侧抽芯。凸模3以H8/f8的配合安装在动模板内,并且其底端面与动模支承板2的距离为h。开模时,由于塑件对凸模具有足够的包紧力,致使凸模在开模距离h内与塑件一起相对保持静止不动,即凸模3浮动了距离h,使侧滑块7在斜导柱6作用下完成侧向抽芯。继续开模,塑件和凸模3一起随动模后退,推出机构工作时,推件板4将塑件从凸模3推出。再设计凸模浮动式斜导柱侧抽芯机构时,应考虑合模时凸模3的复位问题。
图5-7-29所示的结构称为弹压式斜导柱定模侧抽芯,其特点是在动模部分增加一个分型面,靠该分型面中设置的弹簧进行分型。开模时,在弹簧5的作用下,A分型面先分型,在分型过程中,固定在动模支承板1上的斜导柱2驱动侧型芯滑块3进行侧向抽芯,抽芯结束后,定距螺钉4限位,动模继续后退,接着B分型面分型,塑件包在凸模上随动模后移,直至推出机构将塑件推出。
图5-7-30所示的结构为先脱模后斜导柱定模侧抽芯的模具结构,其凹模3为可侧向移动的对开式侧滑块,斜导柱5与凹模侧滑块3上的斜孔之间存在着较大的间隙C。开模时,在凹模侧滑块3侧向移动之前,动、定模将先分开一段距离,同时由于凹模侧滑块3的约束,塑件与凸模4也脱开一段距离,然后斜导柱5才与侧滑块3接触,侧向分型与抽芯动作开始。这种模具的结构简单,加工方便,但塑件需用人工从对开式侧滑块之间取出,操作不方便,劳动强度较大,生产率也较低,因此仅适合于小批量简单塑件的生产。

图5-7-30 先脱模后斜导柱定模侧抽芯
1—定模座板;2—导滑槽;3—凹模侧滑块;4—凸模;5—斜导柱;6—动模板;7—动模座板
(3)斜导柱与侧滑块同时安装在定模
在斜导柱与侧滑块同时安装在定模的结构中,一般情况下斜导柱固定在定模座板上,侧滑块安装在定模板上的导滑槽内。为了形成斜导柱与侧滑块两者之间的相对运动,还必须在定模座板与定模板之间增加一个分型面,因此,需要采用定距顺序分型机构,即开模时主分型面暂不分型,而让定模部分增加的分型面先定距分型,并让斜导柱驱动侧滑块进行侧抽芯,抽芯结束后,主分型面才开始分型。由于斜导柱与侧型芯同时设置在定模部分,设计时斜导柱可适当加长,保证侧抽芯时侧滑块始终不脱离斜导柱,所以不需要设置侧滑块的定位装置。
图5-7-31所示的结构是摆钩式定距顺序分型的斜导柱侧向抽芯机构。合模时,在弹簧7的作用下,由转轴6固定在定模板10上的摆钩8勾住固定在动模板11上的挡块12。开模时,由于摆钩8勾住挡块,模具首先从A分型面分型,同时在斜导柱2的作用下,侧型芯滑块1开始侧向抽芯,侧抽芯结束后,固定在定模座板上的压块9的斜面压迫摆钩8作逆时针方向摆动而脱离挡块12,在定距螺钉5的限制下A分型面分型结束。动模继续后退,B分型面分型,塑件随凸模3留在动模一侧,最后推件板4在推杆13的作用下使塑件脱模。
图5-7-32所示的结构是弹压式定距顺序分型的斜导柱侧抽芯机构,其定距螺钉6固定在定模板5上。合模时,弹簧7被压缩。开模时,在弹簧7的作用下,A分型面先分型,斜导柱2驱动侧型芯滑块1做侧向抽芯,侧抽芯结束,定距螺钉6限位,动模继续向后移动,B分型面开始分型,最后推出机构工作,由推杆8推动推件板4将塑件从凸模3上脱出。

图5-7-31 摆钩式定距顺序分型的斜导柱侧抽芯机构
1—侧型芯滑块;2—斜导柱;3—凸模;4—推件板;5—定距螺钉;6—转轴;
7—弹簧;8—摆钩;9—压块;10—定模板;11—动模板;12—挡块;13—推杆

图5-7-32 弹压式定距顺序分型的斜导柱侧抽芯机构
1—侧型芯滑块;2—斜导柱;3—凸模;4—推件板;5—定模板;6—定距螺钉;7—弹簧;8—推杆
(4)斜导柱与侧滑块同时安装在动模
斜导柱与侧滑块同时安装在动模的结构,一般是通过推件板推出机构来实现斜导柱与侧型芯滑块的相对运动。
在图5-7-33所示的斜导柱侧抽芯机构中,斜导柱3固定在动模板5上,侧型芯滑块2安装在推件板4的导滑槽内,合模时依靠设置在定模板上的楔紧块1锁紧。开模时,侧型芯滑块2和斜导柱3一起随动模后退,当推出机构工作时,推杆6推动推件板4使塑件脱模,同时,侧型芯滑块2在斜导柱3的作用下在推件板4的导滑槽内向两侧滑动进行侧向抽芯。这种结构的模具,由于斜导柱与侧滑块同在动模一侧,设计时同样需适当加长斜导柱,使在侧抽芯的整个过程中斜滑块不脱离斜导柱,因此也不需设置侧滑块定位装置。这种侧抽芯机构主要适合于抽拔距离和抽芯力均不太大的场合。

图5-7-33 斜导柱与侧滑块同在动模的结构
1—楔紧块;2—侧型芯滑块;3—斜导柱;4—推件板;5—动模板;6—推杆;7—凸模
(5)斜导柱的内侧抽芯
斜导柱侧向分型与抽芯机构除了可以对塑件进行外侧分型与抽芯外,同样还可对塑件进行内侧抽芯。

图5-7-34 斜导柱定模内侧抽芯 图5-7-35 斜导柱动模内侧抽芯
1—型芯;2—侧型芯滑块;3—斜导柱; 1—定模板;2—斜导柱;3—侧型芯滑块;
4—小弹簧;5—大弹簧;6—限位螺钉 4—凸模;5—推杆;6—动模板
图5-7-34所示结构为靠弹簧的弹力进行定模内侧抽芯的结构。开模后,在大弹簧5的弹性作用下,定模部分的分型面先分型,同时斜导柱3驱动侧型芯滑块2进行塑件的内侧抽芯。内侧抽芯结束后,侧型芯滑块2在小弹簧4的作用下靠在型芯上定位,同时限位螺钉限位,接着继续开模,塑件被带到动模,最后推出机构工作,由推杆将塑件推出模外。
图5-7-35所示结构为斜导柱动模内侧抽芯的结构。斜导柱2固定在定模板1上,侧型芯滑块3安装在动模板6的导滑槽内移动进行内侧抽芯,最后推杆5将塑件从凸模4上推出。设计这类模具时,侧型芯滑块脱离斜导柱时的定位有两种办法:一是将侧滑块设置在模具位置的上方,利用侧滑块的自重定位,图5-7-35所示的结构就是这种定位;二是当侧型芯安装在下方时,在侧滑块的非成型端设置压缩弹簧,在斜导柱内侧抽芯结束后,靠压缩弹簧的力使侧滑块紧靠动模大型芯定位。
该文章所属专题:塑料模具设计教程
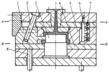
5-7-3 弯销侧向分型与抽芯机构

图5-7-36 弯销侧向抽芯机构
1—挡块;2—定模板;3—楔紧块;
4—弯销;5—侧型芯滑块;6—动模板
弯销侧向分型与抽芯机构的工作原理与斜导柱的工作原理相似,只是在结构上以矩形载面的弯销代替了斜导柱,其典型结构如图5-7-36所示。弯销4和楔紧块3固定于定模板2内,侧型芯滑块5安装在动模板6的导滑槽内,弯销4与侧型芯滑块5上孔的间隙通常取0.5mm左右。开模时,动模部分后退,在弯销4作用下侧型芯滑块5作侧向抽芯,抽芯结束后,侧型芯滑块5由弹簧拉杆挡块装置定位,最后塑件由推管推出。
弯销侧向抽芯机构有几个比较明显的特点:第一个特点是由于弯销是矩形截面,其抗弯截面系数比圆形的斜导柱要大,因此可采用比斜导柱较大的倾斜角α,一般可在小于30°范围内合理选取;第二个特点是弯销可以延时抽芯,弯销与侧滑块之间的间隙根据延时抽芯的需要而设计,如图5-7-37所示,由于塑件对定模型芯有较大的包紧力,且塑件内孔不允许有斜度,所以在开模时,空驶一段距离后斜导柱才开始侧抽芯。这样延时抽芯后,塑件在侧抽芯之前在侧滑块限制下已基本脱开型芯,模具注射生产可顺利进行;第三个特点是弯销侧抽芯机构可以变角度侧抽芯。如图5-7-38所示,由于被抽的侧型芯较长,且塑件的包紧力也较大,因此采用了变角度弯销抽芯。开模过程中,弯销首先由较小的倾斜角起作用,以便具有较大的的起始抽拔力,在带动侧滑块移动后,再由较大倾斜角起作用以抽拔较长的抽芯距离,从而完成整个侧抽芯动作。

图5-7-37 弯销的延时抽芯 图5-7-38 弯销的变角度抽芯
根据安装方式的不同,弯销在模具上安装可分为模内安装和模外安装,图5-7-37和图5-7-38所示的结构均为弯销安装在模内形式,图5-7-39所示的结构为弯销安装在模外的形式。

图5-7-39 弯销安装在模外的结构 图5-7-40 弯销的斜向内侧抽芯
1—动模座板;2—推板;3—推杆固定板; 销固定板;2—垫板;3—限位螺钉;4—侧型芯;
4—推杆;5—动模板;6—挡块;7—弯销; 5—弯销;6—凸模;7—推件板;8—动模板;
8—止动销;9—侧型芯滑块;10—定模座板 9—拉钩;10—压块;11—滑块;12—弹簧
弯销不仅可以外侧抽芯,也可作内侧抽芯。图5-7-40所示为弯销内侧抽芯结构,弯销5固定在弯销固定板1内,侧型芯4安装在凸模6的斜向方形孔中。开模时,由于顺序定距分型机构的作用,拉钩9拉住滑块11,模具从A分型面先分型,弯销5作用于侧型芯4抽出一定距离,斜侧抽芯结束后,压块10的斜面与滑块11接触并使滑块后退而脱钩,限位螺钉3限位,拉着动模继续后退使B分型面分型,最后推出机构工作,推件板7将塑件推出模外。由于侧向抽芯结束后弯销工作端部仍有一部分长度留在侧型芯4的孔中,所以完成侧抽芯后弯销不脱离滑块并起锁紧作用。合模时,弯销使侧型芯复位与锁紧。
实际上,弯销侧向分型与抽芯机构和斜导柱侧抽芯具有类似的结构,也可分成弯销固定在定模侧型芯安装在动模、弯销固定在动模侧型芯安装在定模、弯销与侧型芯同时安装在定模或同时安装在动模等四种类型,这里不再一一介绍。
该文章所属专题:塑料模具设计教程
5-7-4 斜导槽侧向分型与抽芯机构
斜导槽侧向分型与抽芯机构是由固定于模外的斜导槽与固定于侧型芯滑块上的圆柱销连接所形成的,如图5-7-41所示。斜导槽用四个螺钉和两个销钉固定在定模板9的外侧,侧型芯滑块6在动模板导滑槽内的移动是受固定在其上面的圆柱销8在斜导槽内的运动轨迹限制的。开模后,由于圆柱销8先在斜导槽板与开模方向成0°角的方向移动,此时只分型不抽芯,当止动销7脱离侧型芯滑块6后,圆柱销8就在斜导槽内进行沿着与开模方向成一定角度的方向移动,此时作侧向抽芯。图5-7-41a所示为合模状态,图5-7-41b所示为抽芯后推出状态。
斜导槽侧向抽芯机构的抽芯动作整个过程,实际是受斜导槽的形状所控制的。图5-7-42所示为斜导槽板的三种不同形式。图5-7-42a的形式,斜导槽板上只有倾斜角为α的斜槽,所以开模便开始侧向抽芯,但这时的倾斜角应α<25°;图的5-7-42b的形式,开模后有一段延时抽芯的动作,直至进入斜槽部分,侧抽芯才开始;图5-7-42c的形式,先在倾斜角较小的斜导槽内侧抽芯,然后再进入倾斜角较大的斜导槽内抽芯,这种形式,适于抽拨力较大的抽芯距较长的场合。由于起始抽拨力较大,第一阶段的倾斜角α1<25°,一旦侧型芯与塑件松动,以后的抽拔力就比较小,因此第二阶段的倾斜角可适当增大,但仍应α2<25°。
1;所有标注为智造资料网zl.fbzzw.cn的内容均为本站所有,版权均属本站所有,若您需要引用、转载,必须注明来源及原文链接即可,如涉及大面积转载,请来信告知,获取《授权协议》。
2;本网站图片,文字之类版权申明,因为网站可以由注册用户自行上传图片或文字,本网站无法鉴别所上传图片或文字的知识版权,如果侵犯,请及时通知我们,本网站将在第一时间及时删除,相关侵权责任均由相应上传用户自行承担。
[complaint:内容投诉]
智造资料网打造智能制造3D图纸下载,在线视频,软件下载,在线问答综合平台 » 塑料模具设计教程_5-7侧向分型与抽芯机构设计(图文教程)

