面轮廓度注法(GB/T15754—1995)
注法 | 图 例 | |
图 样 上 标 注 | 说 明 | |
|
| |
给定锥度的圆锥公差注法 |
|
|
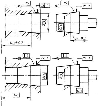
给定圆锥轴向位置的圆锥公差注法 |
|
|
给定圆锥轴向位置公差的圆锥公差注法 |
|
|
与基准线有关的圆锥公差的注法(同时确定同轴关系) |
|
|
相配合的圆锥公差注法 |
| 标注两个相配圆锥的尺寸及公差时,应确定: 具有相同的锥度和锥角 标注尺寸公差的圆锥直径的基本尺寸应一致 确定直径和位置的理论正确尺寸与两装配件的基准平面有关 |
限定条件:如给出形位公差要求和有关技术要求(如量规涂色检验,接触率大于80%)等,以保证圆锥实际要素不超过给定的公差带 |
|
注:倾斜度公差带(包括素线的直线度)在轮廓度公差带内浮动
|
免责声明:
1;所有标注为智造资料网zl.fbzzw.cn的内容均为本站所有,版权均属本站所有,若您需要引用、转载,必须注明来源及原文链接即可,如涉及大面积转载,请来信告知,获取《授权协议》。
2;本网站图片,文字之类版权申明,因为网站可以由注册用户自行上传图片或文字,本网站无法鉴别所上传图片或文字的知识版权,如果侵犯,请及时通知我们,本网站将在第一时间及时删除,相关侵权责任均由相应上传用户自行承担。
[complaint:内容投诉]
智造资料网打造智能制造3D图纸下载,在线视频,软件下载,在线问答综合平台 » 面轮廓度注法(GB/T15754—1995)(图文教程)
1;所有标注为智造资料网zl.fbzzw.cn的内容均为本站所有,版权均属本站所有,若您需要引用、转载,必须注明来源及原文链接即可,如涉及大面积转载,请来信告知,获取《授权协议》。
2;本网站图片,文字之类版权申明,因为网站可以由注册用户自行上传图片或文字,本网站无法鉴别所上传图片或文字的知识版权,如果侵犯,请及时通知我们,本网站将在第一时间及时删除,相关侵权责任均由相应上传用户自行承担。
[complaint:内容投诉]
智造资料网打造智能制造3D图纸下载,在线视频,软件下载,在线问答综合平台 » 面轮廓度注法(GB/T15754—1995)(图文教程)














