图 例 | 说 明 |
不合理 合理 | 改进后,两零件增加了定位止口;由于螺纹联接有间隙,不能保证端盖孔与油缸孔的同轴度,改进后,增加了定位面 |
不合理
合理 | 改进后,避免了过定位,使零件定位准确 |
不合理
合理 | 改进前,两配合面要同时装入,装配困难。改进后,两配合面先里后外装入,工艺性好 |
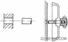
不合理
合理 | 改进前,a=b两配合面要同时装入,装配困难。改进后,b,工艺性好;改进前,销与轴形成封闭腔,装配不便。改进后,增加了空气逸出口 |
不合理 合理 | 改进后,减小了配合长度,增加了过渡轴肩,便于装拆 |
不合理
合理 | 改进后,设计了环槽结构,便于油孔找正定位;改进后,零件便于找正定位 |
不合理
合理 | 改进后,配合件增加了倒角,便于装配导向,装配更方便;改进后,设计了引导锥形头和锥形孔,装配方便 |
该文章所属专题:机械结构设计
免责声明:
1;所有标注为智造资料网zl.fbzzw.cn的内容均为本站所有,版权均属本站所有,若您需要引用、转载,必须注明来源及原文链接即可,如涉及大面积转载,请来信告知,获取《授权协议》。
2;本网站图片,文字之类版权申明,因为网站可以由注册用户自行上传图片或文字,本网站无法鉴别所上传图片或文字的知识版权,如果侵犯,请及时通知我们,本网站将在第一时间及时删除,相关侵权责任均由相应上传用户自行承担。
[complaint:内容投诉]
智造资料网打造智能制造3D图纸下载,在线视频,软件下载,在线问答综合平台 » 便于装配到位-机械结构设计(图文教程)
1;所有标注为智造资料网zl.fbzzw.cn的内容均为本站所有,版权均属本站所有,若您需要引用、转载,必须注明来源及原文链接即可,如涉及大面积转载,请来信告知,获取《授权协议》。
2;本网站图片,文字之类版权申明,因为网站可以由注册用户自行上传图片或文字,本网站无法鉴别所上传图片或文字的知识版权,如果侵犯,请及时通知我们,本网站将在第一时间及时删除,相关侵权责任均由相应上传用户自行承担。
[complaint:内容投诉]
智造资料网打造智能制造3D图纸下载,在线视频,软件下载,在线问答综合平台 » 便于装配到位-机械结构设计(图文教程)














