第四章 液压控制元件
一、液压阀作用
液压阀是液压系统中控制液流流动方向,压力高低、流量大小的控制元件。
二、液压阀分类
按用途分:压力控制阀、流量控制阀、方向控制阀
操纵方式分:人力操纵阀、机械操纵阀、电动操纵阀
连接方式分:管式连接、板式及叠加式连接、插装式连接
按结构分类:滑阀, 座阀, 射流管阀
按控制方式:电液比例阀, 伺服阀, 数字控制阀
按输出参量可调节性分类:开关控制阀, 输出参量可调节的阀
三、液压系统对阀的基本要求
1.工作可靠,动作灵敏,冲击振动小
2.压力损失小
3.结构紧凑,安装调整维护使用方便,通用性好
第二节 方向控制阀
一、单向阀
作用:控制油液的单向流动(单向导通,反向截止)。
性能要求:正向流动阻力损失小,反向时密封性好,动作灵敏
1、普通单向阀
图4-1a为一种管式普通单向阀的结构,压力油从阀体左端的通口流入时克服弹簧3作用在阀芯上的力,使阀芯向右移动,打开阀口,并通过阀芯上的径向孔a、轴向孔b从网体右端的通口流出;但是压力油从阀体右端的通口流入时,液压力和弹簧力一起使阀芯压紧在阀座上,使阀口关闭,油液无祛通过,其图形符号如图4-1b所示。
一般单向阀的开启压力在0.035-0.05Mpa,作背压阀使用时,更换刚度较大的弹簧,使开启压力达到0.2-0.6Mpa。
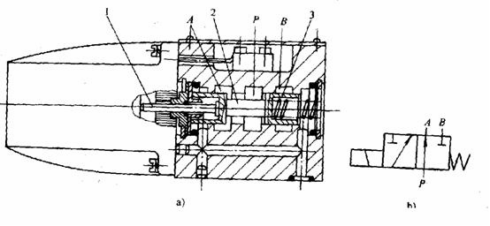
2、液控单向阀
图 4-2a为一种液控单向阀的结构,当控制口 K处无压力油通入时,它的工作和普通单向阀一样,压力油只能从进油口P1流向出油口P2,不能反向流动。当控制口K处有压力油通入时,控制活塞1右侧a腔通泄油口(图中未画出),在液压力作用下活塞向右移动,推动顶杆 2顶开阀芯,使油口 P1和P2接通,油液就可以从P2口流向P1口。图4-2b为其图形符号。
二 换向阀
利用阀芯对阀体的相对运动,使油路接通、关断或变换油流的方向,从而实现液压执行元件及其驱动机构的启动、停止或变换运动方向。
按阀芯相对于阀体的运动方式:滑阀和转阀
按操作方式:手动、机动、电磁动、液动和电液动等按阀芯工作时在阀体中所处的位置:二位和三位等
按换向阀所控制的通路数不同:二通、三通、四通和五通等。
1、工作原理
图4-3a所示为滑阀式换向阀的工作原理图,当阀芯向右移动一定的距离时,由液压泵输出的压力油从阀的P口经A口输向液压缸左腔,液压缸右腔的油经B口流回油箱,液压缸活塞向右运动;反之,若阀芯向左移动某一距离时,液流反向,活塞向左运动。 图4-3b为其图形符号。
2、 换向阀的结构
1) 手动换向阀
利用手动杠杆来改变阀芯位置实现换向。分弹簧自动复位(a)和弹簧钢珠(b)定位两种。

2) 机动换向阀
机动换向阀又称行程阀,主要用来控制机械运动部件的行程,借助于安装在工作台上的档铁或凸轮迫使阀芯运动,从而控制液流方向。
3) 电磁换向阀
利用电磁铁的通电吸合与断电释放而直接推动阀芯来控制液流方向。它是电气系统和液压系统之间的信号转换元件。
图4-9a所示为二位三通交流电磁阀结构。在图示位置,油口 P和A相通,油口B断开;当电磁铁通电吸合时,推杆1将阀芯2推向右瑞,这时油口P和A断开,而与B相通。当电磁铁断电释放时,弹簧3推动阀芯复位。图 4-9b为其图形符号。
4) 液动换向阀
利用控制油路的压力油来改变阀芯位置的换向阀。阀芯是由其两端密封腔中油液的压差来移动的。如图所示,当压力油从K2进入滑阀右腔时,K1接通回油,阀芯向左移动,使P和B相通,A和T相通;当K1接通压力油,K2接通回油,阀芯向右移动,使P和A相通,B和T相通;当K1和K2都通回油时,阀芯回到中间位置。
5)电液换向阀
由电磁滑阀和液动滑阀组成。电磁阀起先导作用,可以改变控制液流方向,从而改变液动滑阀阀芯的位置。用于大中型液压设备中。
3、 换向阀的性能和特点
1)滑阀的中位机能
各种操纵方式的三位四通和三位五通式换向滑阀,阀芯在中间位置时,各油口的连通情况称为换向阀的中位机能。其常用的有“O”型、“H”型、“P”型、K”型、“M”型等。
分析和选择三位换向阀的中位机能时,通常考虑:
(1) 系统保压 P口堵塞时,系统保压,液压泵用于多缸系统。
(2) 系统卸荷 P口通畅地与T口相通,系统卸荷。(H K X M型)
(3) 换向平稳与精度 A、B两口堵塞,换向过程中易产生冲击,换向不平稳,但精度高;A、B口都通T口,换向平稳,但精度低。
(4) 启动平稳性 阀在中位时,液压缸某腔通油箱,启动时无足够的油液起缓冲,启动不平稳。
(5) 液压缸浮动和在任意位置上停止
2)滑阀的液动力
由液流的动量定律可知,油液通过换向阀时作用在阀芯上的液动力有稳态液动力和瞬态液动力两种。
(1)稳态液动力:阀芯移动完毕,开口固定后,液流流过阀口时因动量变化而作用在阀芯上有使阀口关小的趋势的力,与阀的流量有关。
(2)瞬态液动力:滑阀在移动过程中,阀腔液流因加速或减速而作用在阀芯上的力,与移动速度有关。
3)液压卡紧现象
卡紧原因:脏物进入缝隙;温度升高,阀芯膨胀;但主要原因是滑阀副几何形状和同心度变化引起的径向不平衡力的作用,其主要包括:
a阀芯和阀体间无几何形状误差,轴心线平行但不重合
b 阀芯因加工误差而带有倒锥,轴心线平行但不重合
c 阀芯表面有局部突起
减小径向不平衡力措施:
1)提高制造和装配精度
2)阀芯上开环形均压槽
第三节 压力控制阀
在液压传动系统中,控制油液压力高低的液压阀称之为压力控制阀,简称压力阀。这类阀的共同点是利用作用在阀芯上的液压力和弹簧力相平衡的原理工作的。
一、溢流阀的基本结构及其工作原理
溢流阀的主要作用是对液压系统定压或进行安全保护。
(一)溢流阀的作用和性能要求
1.溢流阀的作用
在液压系统中用来维持定压是溢流阀的主要用途。它常用于节流调速系统中,和流量控制阀配合使用,调节进入系统的流量,并保持系统的压力基本恒定。用于过载保护的溢流阀一般称为安全阀。
2.液压系统对溢流阀的性能要求
(1)定压精度高
(2)灵敏度要高
(3)工作要平稳且无振动和噪声
(4)当阀关闭时密封要好,泄漏要小。
(二)溢流阀的结构和工作原理
常用的溢流阀按其结构形式和基本动作方式可归结为直动式和先导式两种。
1.直动式溢流阀
直动式溢流阀是依靠系统中的压力油直接作用在阀芯上与弹簧力等相平衡,以控制阀芯的启闭动作,溢流阀是利用被控压力作为信号来改变弹簧的压缩量,从而改变阀口的通流面积和系统的溢流量来达到定压目的的。当系统压力升高时,阀芯上升,阀口通流面积增加,溢流量增大,进而使系统压力下降。溢流阀内部通过阀芯的平衡和运动构成的这种负反馈作用是其定压作用的基本原理,也是所有定压阀的基本工作原理。

2.先导式溢流阀
图-19所示为先导式溢流阀的结构示意图,由于先导阀芯一般为锥阀,受压面积较小,所以用一个刚度不太大的弹簧即可调整较高的开启压力,用螺钉调节导阀弹簧的预紧力,就可调节溢流阀的溢流阀压力。
先导式溢流阀有一个远程控制口K,如果将K口用油管接到另一个远程调压阀(远程调压阀的结构和溢流阀的先导控制部分一样),调节远程调压阀的弹簧力,即可调节溢流阀主阀芯上端的液压力,从而对溢流阀的溢流压力实现远程调压。但是,远程调压阀所能调节的最高压力不得超过溢流阀本身导阀的调整压力。当远程控制口K通过二位二通阀接通油箱时,主阀芯上端的压力接近于零,主阀芯上移到最高位置.阀口开得很大。由于主阀弹簧较软,这时溢流阀p口处压力很低,系统的油在低压下通过溢流阀流回油箱,实现卸荷。
(三)溢流阀的性能
溢流阀的性能包括溢流阀的静态性能和动态性能。
1.静态性能
(1)压力调节范围
压力调节范围是指调压弹簧在规定的范围内调节时,系统压力能平稳地上升或下降,且压力无突跳及迟滞现象时的最大和最小调定压力。溢流阀的最大允许流量为其额定流量,在额定流量下工作时溢流阀应无噪声、溢流阀的最小稳定流量取决于它的压力平稳性要求,一般规定为额定流量的15%。
(2)启闭特性
启闭特性是指溢流阀在稳态情况下从开启后到闭合的过程中,被控压力与通过溢流阀的溢流量之间的关系。它是衡量溢流阀定压精度的一个重要指标,一般用溢流阀处于额定流量、调定压力ps时,开始溢流的开启压力pk及停止溢流的闭合压力pB分别与ps的百分比来衡量,前者称为开启比,后者称为闭合比。
(3)卸荷压力
当溢流阀的远程控制口及与油箱相连时,额定流量下的压力损失称为卸荷压力。
二、减压阀
减压阀是使出口压力(二次压力)低于进口压力(一次压力)的一种压力控制阀。
作用:减低液压系统中某一回路的油液压力,使用一个油源能同时提供两个或几个不同压力的输出。
用途:减压阀在各种液压设备的夹紧系统、润滑系统和控制系统中应用较多。此外,当油压不稳定时,在回路中串入一减压阀可得到一个稳定的较低的压力。
分类:根据减压阀所控制的压力不同,它可分为定值输出减压阀、定差减压阀和定比减压阀。
(1)定值输出减压阀
1. 工作原理
阀不工作时,阀芯在弹簧作用下处于最下端位置,阀的进、出油口是相通的,亦即阀是常开.
将先导式减压阀和先导式溢流阀进行比较,它们之间有如下几点不同之处:
(1)减压阀保持出口压力基本不变,而溢流阀保持进口处压力基本不变。
(2)在不工作时,减压阀进、出油口互通,而溢流阀进出油口不通。
(3)为保证减压阀出口压力调定值恒定,它的导阀弹簧腔需通过泄油口单独外接油箱;而溢流阀的出油口是通油箱的,所以它的导阀的弹簧腔和泄漏油可通过阀体上的通道和出油口相通,不必单独外接油箱。
2.工作特性
理想的减压阀在进口压力、流量发生变化或出口负载增加,其出口压力总是恒定不变。当减压阀的出油口不输出油液时,它的出口压力基本上仍能保持恒定,此时有少量的油液通过减压阀阀口经先导阀和泄油管流回油箱,保持该阀处于工作状态。
三、顺序阀
顺序阀用来控制液压系统中各执行元件动作的先后顺序。依控制压力的不同,顺序阀又可分为内控式和外控式两种。前者用阀的进油口压力控制阀芯的启闭,后者用外来的控制压力油控制阀芯的启闭(液控顺序阀)。顺序阀也有直动式和先导式两种,前者一般用于低压系统,后者用于中高压系统。由图可见,顺序阀和溢流阀的结构基本相似,不同的只是顺序阀的出油口通向系统的另一压力油路,而溢流阀的出油口通油箱。此外,由于顺序阀的进、出油口均为压力油,所以它的泄油口L必须单独外接油箱。
直动式外控顺序阀的工作原理图和图形符号如图4-27所示,和上述顺序阀的差别仅仅在于其下部有一控制油口K,阀芯的启闭是利用通人控制油口K的外部控制油来控制的。
图4-28所示为先导式顺序阀的工作原理图和图形符号。
顺序阀是一种利用压力控制阀口通断的压力阀。实际上,除内控外泄形式外,还可以通过改变上盖或底盖的装配位置得到内控内泄、外控外泄、外控内泄等三种类型。它们的图形符号如图4-18所示,内控外泄用来实现顺序动作;内控内泄用在系统中作平衡阀或背压阀;外控内泄用作卸载阀;用于双泵供油回路使大泵卸载。外控外泄相当于一个液控二位二通阀。作液动开关阀。
四、压力继电器
压力继电器是一种将油液的压力信号转换成电信号的电液控制元件,当油液压力达到压力继电器的调定压力时,即发出电信号,以控制电磁铁、电磁离合器、继电器等元件动作,使油路卸压、换向、执行元件实现顺序动作,或关闭电动机,使系统停止工作,起安全保护作用等。
压力继电器正确位置是在液压缸和节流阀之间 。

第四节 流量控制阀
液压系统中执行元件运动速度的大小,由输入执行元件的油液流量的大小来确定。流量控制阀就是依靠改变阀口通流面积(节流口局部阻力)的大小或通流通道的长短来控制流量的控制阀。常用的流量控制阀有普通节流阀、压力补偿和温度补偿调速阀、溢流节流阀和分流集流阀等。
一、流量控制原理及节流口形式
节流阀的节流口通常有三种基本形式:薄壁小孔、细长小孔和厚壁小孔。为保证流量稳定、节流口的形式以薄壁小孔较为理想。
节流阀是一种可以在较大范围内以改变液阻来调节流量的元件。因此可以通过调节节流阀的液阻,来改变进入液压缸的流量,从而调节液压缸的运动速度。
液压传动系统对流量控制阀的主要要求有:
1)较大的流量调节范围,且流量调节要均匀。
2)当阀前、后压力差发生变化时,通过阀的流量变化要小,以保证负载运动的稳定。
3)油温变化对通过阀的流量影响要小。
4)液流通过全开阀时的压力损失要小。
5)当阀口关闭时,阀的泄漏量要小。
二、普通节流阀
下图所示为一种普通节流阀的结构和图形符号。这种节流阀的节流通道是轴间三角槽式。这种节流阀的进出油口可互换。
三、节流阀的压力和温度补偿
节流阀的压力补偿有两种方式:一种是将定差减压阀与节流阀串联起来,组合而成调速阀;另一种是将稳压溢流阀与节流阀并联起来,组织成溢流节流阀。这两种压力补偿方式是利用流量变动所引起油路压力的变化,通过阀芯的负反馈动作,来自动调节节流部分的压力差,使其基本保持不变。
油温的变化也必然会引起油液粘度的变化,从而导致通过节流阀的流量发生相应的改变,为此出现了温度补偿调速阀。
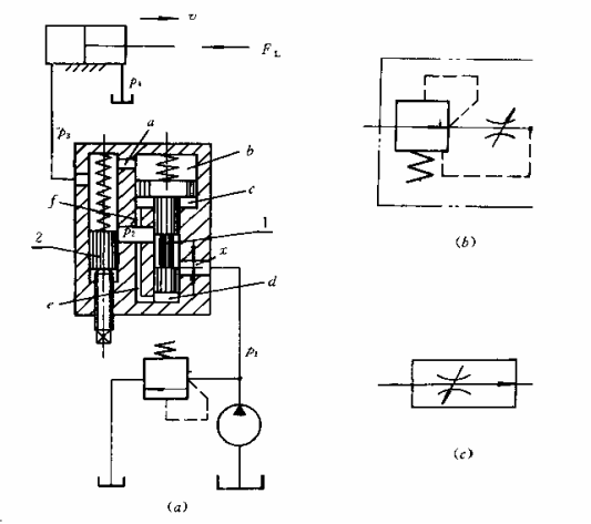
1.调速阀
调速阀是在节流阀2前面串接一个定差减压阀1组合而成。下图为其工作原理图。液压泵的出口(即调速阀的进口)压力 ,由溢流阀调定,基本上保持恒定。调速阀出口处的压力由液压缸负载FL决定。
因为弹簧刚度较低,且工作过程中减压阀阀芯位移很小,可以认为只基本保持不变。故节流阀两端压力差也基本保持不变,这就保证了通过节流阀的流量稳定。节流阀的流量随压力差变化较大,而调速阀在压力差大于一定数值后,流量基本上保持恒定。
当压力差很小时,由于减压阀阀芯被弹簧推至最下端,减压阀阀口全开,不起稳定节流阀前后压力差的作用,故这时调速阀的性能与节流阀相同,所以调速阀正常工作时,至少要求有0.4~0.5MPa以上的压力差,图b、c为其图形符号。
2.温度补偿调速阀
温度补偿调速回的压力补偿原理部分与普通调速阀相同。
1;所有标注为智造资料网zl.fbzzw.cn的内容均为本站所有,版权均属本站所有,若您需要引用、转载,必须注明来源及原文链接即可,如涉及大面积转载,请来信告知,获取《授权协议》。
2;本网站图片,文字之类版权申明,因为网站可以由注册用户自行上传图片或文字,本网站无法鉴别所上传图片或文字的知识版权,如果侵犯,请及时通知我们,本网站将在第一时间及时删除,相关侵权责任均由相应上传用户自行承担。
[complaint:内容投诉]
智造资料网打造智能制造3D图纸下载,在线视频,软件下载,在线问答综合平台 » 液压传动教程4-液压控制元件(图文教程)

