科学的给零件图标注尺寸(图文教程)

  零件图上所标注尺寸不但要满足设计要求,还应满足生产加工要求,科学的给零件图标注尺寸,可以让生产加工者加工制造更方便,减少计算错误,提高工作效率,保证零件产品质量

序号

图例

注意事项

说明

改进前

改进后

1

科学的给零件图标注尺寸(图文教程),科学的给零件图标注尺寸,标注,零件,尺寸,第1张

科学的给零件图标注尺寸(图文教程),科学的给零件图标注尺寸,标注,零件,尺寸,第2张

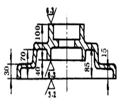
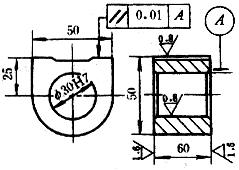
加工面与毛坯面的关联尺寸原则上在一个坐标方向,只应当标注一个(当多于一个时,应注明哪一个是划线基准)

毛坯面本身的尺寸误差大,一个加工面难以同时满足几个毛坯面的尺寸关系

2

科学的给零件图标注尺寸(图文教程),科学的给零件图标注尺寸,标注,零件,尺寸,第3张

科学的给零件图标注尺寸(图文教程),科学的给零件图标注尺寸,标注,零件,尺寸,第4张

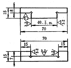
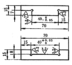
零件图上的尺寸、公差、表面祖糙度、技术要求等,尽可能集中标注

阅读方便、清楚、避免加工时出差错

3

科学的给零件图标注尺寸(图文教程),科学的给零件图标注尺寸,标注,零件,尺寸,第5张

科学的给零件图标注尺寸(图文教程),科学的给零件图标注尺寸,标注,零件,尺寸,第6张

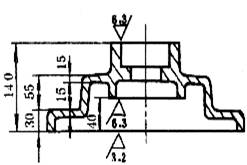
尺寸标注应考虑到加工顺序

左图是从精磨的齿轮端面起注尺寸,而此面是最后加工的,应按右图从车削端面起标注为好(有特殊要求者例外)

4

科学的给零件图标注尺寸(图文教程),科学的给零件图标注尺寸,标注,零件,尺寸,第7张

科学的给零件图标注尺寸(图文教程),科学的给零件图标注尺寸,标注,零件,尺寸,第8张

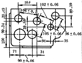
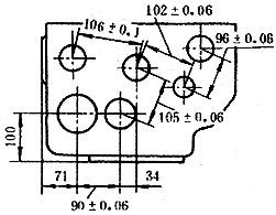
尺寸标注应满足加工时的实际要求

箱体孔不仅要注出孔距测量尺寸,而且要注出加工时所需的坐标尺寸

5

科学的给零件图标注尺寸(图文教程),科学的给零件图标注尺寸,标注,零件,尺寸,第9张

科学的给零件图标注尺寸(图文教程),科学的给零件图标注尺寸,标注,零件,尺寸,第10张

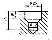
尺寸标注应考虑检验和测量方便

分别注出不同直径的钻削深度,便于测量

6

科学的给零件图标注尺寸(图文教程),科学的给零件图标注尺寸,标注,零件,尺寸,第11张

科学的给零件图标注尺寸(图文教程),科学的给零件图标注尺寸,标注,零件,尺寸,第12张

选择合理的尺寸封闭环

左图未留尺寸封闭环

科学的给零件图标注尺寸(图文教程),科学的给零件图标注尺寸,标注,零件,尺寸,第13张

科学的给零件图标注尺寸(图文教程),科学的给零件图标注尺寸,标注,零件,尺寸,第14张

封闭环应留在非主要尺寸上

 

免责声明:
1;所有标注为智造资料网zl.fbzzw.cn的内容均为本站所有,版权均属本站所有,若您需要引用、转载,必须注明来源及原文链接即可,如涉及大面积转载,请来信告知,获取《授权协议》。
2;本网站图片,文字之类版权申明,因为网站可以由注册用户自行上传图片或文字,本网站无法鉴别所上传图片或文字的知识版权,如果侵犯,请及时通知我们,本网站将在第一时间及时删除,相关侵权责任均由相应上传用户自行承担。
[complaint:内容投诉]
智造资料网打造智能制造3D图纸下载,在线视频,软件下载,在线问答综合平台 » 科学的给零件图标注尺寸(图文教程)