机械制造工程_12.5典型零件的工艺规程(图文教程)

第五节 典型零件的工艺规程

制定零件机械加工工艺过程是一个综合解决问题的过程。需要从保证加工质量,提高生产率和经济效益等方面综合考虑,首先对零件图纸和现场生产

条件等进行全面分析,然后安排加工工艺过程。下面以轴、齿轮典型机械零件为例,在小批量或成批生产条件下,制定机械加工工艺过程的一些有关问题作简要分析。

一、轴的机械加工工艺的制定

在机器中,轴类零件一般用于支撑传动零件(如齿轮、皮带轮)和传动动力与扭矩。轴类零件属回转体类零件,其长度大于直径,根据不同使用场合,轴一般由若干个外圆柱面、圆锥面、孔和螺纹等组成。

1.毛坯

当轴类零件为圆轴类或直径较小的阶梯轴时,一般采用热压圆钢做毛坯,当阶梯轴各段直径差较大及要求毛坯具有较高机械性能时,采用锻件做毛坯。

2.定位基准

加工轴类零件,定位基准主要是外圆柱面和顶尖孔两种。粗加工时,考虑到需保证装夹牢固,一端用外圆柱面定位,采用卡盘装夹,另一端采用顶尖支承。半精加工和精加工时,为保证定位精度要求,一般采用两端顶尖支承。

3.传动轴的机械加工工艺过程

机械制造工程_12.5典型零件的工艺规程(图文教程),机械制造工程_12.5典型零件的工艺规程,零件,第1张

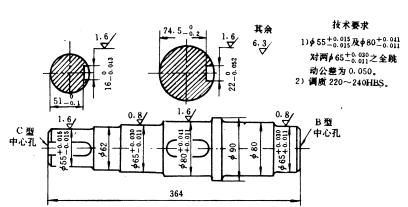
图12-14 传动轴

以传动轴(图12-14)的加工为例,说明小批量生产中传动轴零件的加工工艺过程。

⑴ 分析零件图,了解技术要求 从零件图的尺寸标注上可以看出:该轴的主要表面是直径分别为?80、?65、?55的各段配合轴径,不仅各自有较高的尺寸精度和表面质量要求,而且相互间还有较高的位置精度要求。此外,在?55、?80两轴颈上还各有一平键槽需加工保证。

⑵ 毛坯选择 由于该零件属小批生产,材料又为常用的45钢,则应以直径95mm的热轧棒料为毛坯。为达到其机械性能要求,在工艺过程中需要安排调质热处理工序。

⑶ 基准选择 为了保证各配合轴颈间的相互位置精度要求,采用两顶尖孔为定位精基准。

⑷ 传动轴的机械加工工艺过程见表12-5。

表12-5 传动轴工艺过程

工序号

工序名称

工 序 内 容

定位基准

机 床

1

下料

Φ95*370热扎圆棒

2

粗车

车端面、打顶尖孔

外圆

普通车床

粗车各段外圆

外圆、顶尖孔

3

热处理

调质

4

半精车

半精车各段外圆及端面.到角

顶尖孔

普通车床

5

研 磨

研磨顶尖孔

外圆

钻床

6

精 车

精车Φ55、Φ88达到要求

顶尖孔

普通车床

7

立 铣

铣两端键槽

外 圆

立铣床

8

精 磨

精磨Φ65两外圆达到要求

顶尖孔

外圆磨床

9

检 验

按图纸要求检查

二、圆柱齿轮的机械加工工艺过程的制定

渐开线齿轮是机械传动中最常用的零件之一。其常用功能是按一定的速比传递运动和动力。

齿轮的结构由于使用要求不同,而具有不同的形状和尺寸,但总可以将其看成是由齿圈和轮体两部分构成。按照齿圈上轮齿的分布形式,齿轮又分为直齿轮、斜齿轮和人字齿轮等。按照轮体的结构形状,齿轮可分为轴齿轮、套筒齿轮、盘形齿轮和齿条等。

1.齿轮的材料、毛坯和热处理

齿轮的材料和热处理主要取决于齿轮的工作条件。对于低速、轻载或中载的不重要齿轮,常用45钢进行调质和表面淬火处理;速度较高、载荷较大或精度较高的齿轮,用40Cr进行调质和齿面淬火处理;速度高、有冲击或载荷较大的齿轮,用20Cr、20CrMnTi进行表面渗碳淬火处理;某些高速耐磨齿轮可用38CrMoAlA进行调质加氮化处理;低速、无冲击及轻载的齿轮可用铸件HT200—400等。

齿轮的毛坯大多采用轧制圆棒料和锻钢件,其次是铸钢件、铸铁件。对于小直径(小于?80mm)、不重要齿轮直接用轧制圆棒料;中等直径(?80~500mm)、重要齿轮用锻钢件(其中批量较小或直径较大的齿轮用自由锻,批量较大的中小齿轮用模锻);大直径(大于?500mm)、结构复杂的齿轮用铸钢件或铸铁件。

2.定位基准

齿形加工的定位基准对齿轮加工精度有直接的影响,应尽可能选择齿轮的装配基准作为其定位

基准,并尽可能在加工中保持不变。

对于轴齿轮,直径较小时一般选择顶尖孔做定位基准。

机械制造工程_12.5典型零件的工艺规程(图文教程),机械制造工程_12.5典型零件的工艺规程,零件,第2张

图12-15 双联齿轮

对于带孔齿轮,成批大量生产时,一般选择内孔和一个端面作为定位基准,采用专用芯轴安装;单件小批生产时,可选择外圆和一个端面为定位基准,以外圆找正安装。

3.圆柱齿轮的机械加工工艺过程

以双联齿轮(图12-15)为例,说明在中等批量生产中圆柱齿轮的加工工艺过程,如表12-6所示。

表12-6 双联齿轮工艺过程

工序号

工序名称

工 序 内 容

定 位 基 准

机 床

1

胎膜锻毛坯

2

热处理

正火

3

粗车

粗车外圆和端面钻、镗花键底孔

外圆、端面

六角车床

4

热处理

调质处理

5

拉花键孔

花键底孔、端面

拉床

6

精车

精车外圆、端面及槽至尺寸要求

花键孔、端面

六角车床

7

检验

8

滚齿

滚齿Z=39

花键底孔、端面

滚齿机

9

插齿

插齿Z=34

花键底孔、端面

插齿机

10

倒角

倒齿端圆角

花键底孔、端面

倒角机

11

钳工去毛刺

12

剃齿

剃齿Z=39

花键底孔、端面

剃齿机

13

剃齿

剃齿Z=34

花键底孔、端面

剃齿机

14

热处理

齿部高频淬火G52

15

推孔修复花键孔

花键底孔、端面

推孔机

16

珩齿

Z=39 Z=34

花键底孔、端面

珩齿机

17

检验


免责声明:
1;所有标注为智造资料网zl.fbzzw.cn的内容均为本站所有,版权均属本站所有,若您需要引用、转载,必须注明来源及原文链接即可,如涉及大面积转载,请来信告知,获取《授权协议》。
2;本网站图片,文字之类版权申明,因为网站可以由注册用户自行上传图片或文字,本网站无法鉴别所上传图片或文字的知识版权,如果侵犯,请及时通知我们,本网站将在第一时间及时删除,相关侵权责任均由相应上传用户自行承担。
[complaint:内容投诉]
智造资料网打造智能制造3D图纸下载,在线视频,软件下载,在线问答综合平台 » 机械制造工程_12.5典型零件的工艺规程(图文教程)