Delta式并联机械臂,这是一种通过一系列互相连接的平行四边形来控制目标在X、Y、Z轴上的运动的机械结构,近年来这种机械结构的应用日益广泛,特别是它具有适应狭小空间,并能在其中有效工作的能力。
这种结构最早是由瑞士洛桑理工学院(EPFL)的Reymond Clavel教授在上世纪80年代发明的。最早的Delta式并联机械臂主要用来设计一种能以很快速度操作轻小物体的机器人。1987年瑞士Demaurex公司首先购买了delta机器人的知识产权并将其产业化,主要用于巧克力、饼干、面包等食品包装。
后来由于硬件和软件工程的发展带来的技术和制造成本下降,很多创客在设计自己的3D打印机是借鉴了这种Delta并联式机械臂的特点,于是就出现了如今我们常见的外形接近三角形柱体的Delta式3D打印机。
但是,这种Delta式机械臂原本就被设计为只能在狭小的空间里工作,其应用范围就受到了限制。为了解决这个问题,近日,独立的软件和机电产品开发者 Aad van der Geest在原有的Delta式机械臂的基础上,开发了一种多级Delta式机械臂(Multi-Delta Robotic Arm),使其活动空间大幅增加,却没有增加其重量。

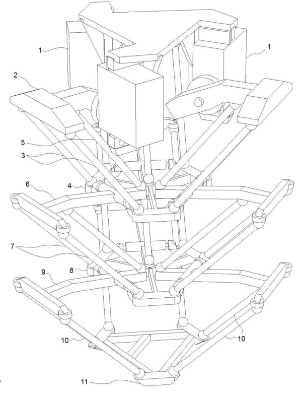
从传统的Delta式机器人原理出发,van der Geest将多个Delta式机械臂连接起来,并将较重的操作设备连到基座上。在开发了三个从6英寸(约15厘米)到近12英尺(约3.6米)高的原型设备之后,他最终找到了一个能够制造可携带重量的轻量级机械臂的解决方案。
为了使其有效地工作,van der Geest在设备的上方设计了一个包含伸纵机构和执行控制装置的基座。从这个基座上乡下延伸出三个带关节的臂,并连接到一个三角形的平台上,然后这种结构可反复叠加,直到达到预定的操作高度。

因为实际的致动是由基座与一个负重关节支持系统共同完成的,所以这些机械臂可以采用一些轻质材料制造(例如用3D打印机打印出来),而且这种装置的移动惯性很小,可以实现很快的加速度和移动速度。此外,这种设计采用了类似桥梁的承重设计,所以这些连接组件能够在不增加重量的前提下增加刚度和负荷强度。
尽管还没有公布将这种设计用于什么样的产品或消费/工业用途,但van der Geest正在尝试用它制造一台概念性的3D打印机。而且据天工.社了解,最终的3D打印机设计将具备大尺寸的3D打印能力(比如打印日常的座椅板凳),并且价格与传统的桌面3D打印机相比也很有竞争力,同时这种3D打印机也不会占据很大的空间。





该文章所属专题:3D打印
1;所有标注为智造资料网zl.fbzzw.cn的内容均为本站所有,版权均属本站所有,若您需要引用、转载,必须注明来源及原文链接即可,如涉及大面积转载,请来信告知,获取《授权协议》。
2;本网站图片,文字之类版权申明,因为网站可以由注册用户自行上传图片或文字,本网站无法鉴别所上传图片或文字的知识版权,如果侵犯,请及时通知我们,本网站将在第一时间及时删除,相关侵权责任均由相应上传用户自行承担。
[complaint:内容投诉]
智造资料网打造智能制造3D图纸下载,在线视频,软件下载,在线问答综合平台 » 多级Delta式并联臂打造经济型大尺寸3D打印机(图文教程)

