在冲压级进模的设计过程中,经常会用到斜楔滑块机构实现侧向冲压或抽芯,级进模成形的对象多数是小型零件,斜楔滑块机构相对占用空间较大,增加了模具外形尺寸和累积误差,且结构复杂,设计与制造费用较高。成形某电源插线板内部零件的级进模需使用侧抽芯机构,为减小抽芯机构的尺寸,便于结构设计,借鉴注射模的斜顶块抽芯机构,设计了一种类似但又有异于注射模斜顶块抽芯机构的“斜滑块浮顶抽芯机构”。该模具结构简单、制造成本低、占用空间小,有利于小型零件的级进模设计和制造,具有一定的参考和应用价值。
该斜滑块浮顶抽芯机构同时具备抽芯和浮顶条料的双重作用,以下简要介绍被成形零件的结构、材料、成形此零件的模具类型、排样形式、工序安排以及斜滑块浮顶抽芯机构在此模具中的应用。
冲压件工艺分析——冲压件结构

图1 冲压件
冲压件形状如图1所示,材料是具有良好塑性的黄铜,材料厚度为0.3mm,要求零件毛刺全部位于弯曲面内侧,大批量生产。该冲压件材料薄、尺寸小、批量大,适合采用级进模生产。
冲压件工艺分析——排样零件

图2 排样
排样形式采用中间载体、斜排,如图2所示。由于零件要求毛刺位于弯曲面内侧,弯曲方向只能朝下模方向,其工序安排为:
① 冲孔,冲出零件上2个圆孔,即位于圆孔之间的凸起以及位于中间载体上的导正销孔;
② 冲外形,分段切除零件周边材料;
③ 冲外形,分段切除零件周边材料;
④ 弯曲,右端的U形弯曲成形以及左端第1个90°弯曲;
⑤ 空工位;
⑥ 弯曲,左端第2个90°弯曲成形;
⑦ 空工位;
⑧ 分离,切除中间载体,分离冲压件。
斜顶块机构结构和工作原理
第⑥工序弯曲零件左端的第2个90°弯曲,下模需要设计侧抽芯结构,如果采用常规斜楔滑块抽芯机构需要占用4~5个工步的空间且结构复杂。通过借鉴注射模斜顶块抽芯机构的结构,在该级进模中设计一个“斜滑块浮顶抽芯机构”取代常规的斜楔滑块机构,仅占用3个工步的空间,且结构简单,如图3所示。

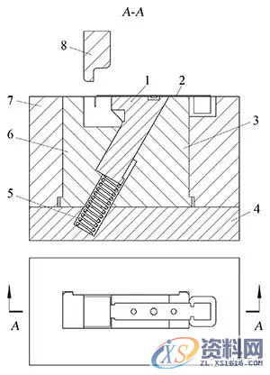
图3 斜滑块浮顶抽芯机构
1.滑块 2.条料 3.镶件 4.垫板 5.弹簧
6.镶件 7.下模板 8.弯曲上模
由图3可以看出第⑥工序的上、下弯曲模结构关系,弯曲上模结构如图3中零件8所示,下模包含垫板4、下模板7、构成“滑道”的镶件3和镶件6、滑块1、推动滑块上升的弹簧5,图3中所示的条料2和滑块1是处在被上模卸料板压紧在下模零件表面的状态。
在该模具结构中,滑块既是弯曲下模也是实现侧抽芯的零件,同时还起到浮顶条料的作用,整个滑块机构包括弹簧在内仅需4个零件,不需要常规斜楔滑块机构中安装于上模的斜楔,特别是除弹簧外的3个零件都可以使用电火花线切割机进行简单的磨削加工即可,设计与制造简单快捷,空间占用率小。

(a)弯曲前的开模状

(b)弯曲时的模具闭合状

(c)弯曲后的开模状态
图4 斜滑块浮顶抽芯机构的三维结构
图4所示为第⑥工序的下模在不同工作时间的三维截面图,展示了斜滑块浮顶抽芯机构在成形零件时不同状态下的剖切结构。
在开模状态,滑块1像一般顶杆一样顶起条料2(见图4(a)),以利于条料送进。当弯曲上模8压下时,上模卸料板(图中未给出卸料板)压向条料2,条料2被压紧在模具零件型面上,位于条料2下方的滑块1被压进下模(见图4(b))。滑块1被镶件6的台阶限位,此时滑块顶面与下模型面平齐,滑块下滑过程中滑块头部向左移动到工作位置实现零件的弯曲工作,弯曲上模继续下行,完成弯曲加工(见图4(b))。卸料板随上模返回,滑块1在弹簧5的推动下浮起,实现对条料的浮顶和向右的侧向抽芯动作(见图4(c))。
配合间隙要求和角度要求
滑块与滑道之间的配合精度要求较高,尺寸计算应保证配合间隙位于滑块与镶件6贴合的侧面,与镶件3贴合的侧面无间隙,滑块与滑道的配合精度为H8/g7。为了防止发生自锁现象,同时考虑机械效率,建议滑块斜面与水平面之间的夹角≥40°。
我们是知识搬运工,我们是技术传播者!
东莞潇洒职业培训学校开设课程有:CNC数控编程、塑胶模具设计,压铸模具设计、冲压模具设计, Solidworks/pro/E产品设计、AutoformR7工艺分析,非标自动化设计、PLC编程、文职、电商、平面设计、新媒体等培训课程,潇洒职业培训学校线下、线上、随到随学等学习方式,上班学习两不误,欢迎预约免费试学!
联系电话:18029183455(微信同号)QQ:2799669782
线上免费试学: xsmj.ke.qq.com
1;所有标注为智造资料网zl.fbzzw.cn的内容均为本站所有,版权均属本站所有,若您需要引用、转载,必须注明来源及原文链接即可,如涉及大面积转载,请来信告知,获取《授权协议》。
2;本网站图片,文字之类版权申明,因为网站可以由注册用户自行上传图片或文字,本网站无法鉴别所上传图片或文字的知识版权,如果侵犯,请及时通知我们,本网站将在第一时间及时删除,相关侵权责任均由相应上传用户自行承担。
[complaint:内容投诉]
智造资料网打造智能制造3D图纸下载,在线视频,软件下载,在线问答综合平台 » 斜滑块抽芯机构在级进模中的应用配合间隙要求和角度要求

