在控制保护设备中,由于集成化的程度增加,导致对板卡需求日益增多,对连接板卡的插件面板工艺要求越来越高。以往加工面板型材较长边缺口以冲压为主,短边缺口则以铣削为主,为提高生产效率,设计了1副冲模对缺口进行加工,同时完成长、短边的缺口加工,可以有效减少加工工时。

图1 面板型材结构
加工的插件面板结构如图1所示,材料采用铝型材6063-T5,需要加工的缺口尺寸为23.5mm×2.6mm,由于功能需要,该缺口加工要求较高,加工表面不能有毛刺现象,平面度高,同时要求加工缺口两端不能因冲裁产生翘曲变形。
该型材由于短边形状特殊,外侧凹槽处容易受压变形,冲裁时需考虑冲压方向。同时缺口两侧面因无支撑而发生变形,还需要设计定位与压紧装置予以解决。
1
模具设计
mujusheji
在面板型材短边冲裁过程中,要求切边两侧不能出现冲压变形,缺口表面要求光滑平整,因此模具设计时要求具有较好的定位措施及减少毛刺的设计。
01 面板型材模具主体设计
面板型材模具主要包括凸模与凹模结构,同时还具有定位装置与压紧装置等。
凸模结构包括上固定板、凸模模座等,凹模结构包括下固定板、凹模模座、凹模等,定位装置以定位销形式实现,压紧装置则利用弹簧对压料板进行压力施加,模具结构如图2所示,在间隙选取中,首先考虑避免塌角与毛刺的产生,所以间隙选取0.2mm,凸模尺寸与缺口相对应为23.5mm。

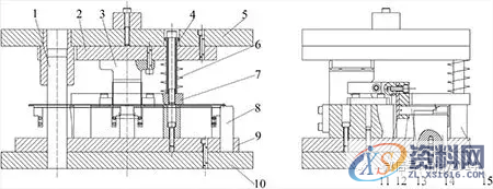
图2 模具结构
1.导柱 2.固定板 3.斜楔 4.压料套 5.上模座 6.弹簧 7.压料板 8.定位销 9.固定板 10.下模座 11.垫板 12.凸模固定板 13.凸模 14.凹模镶件 15.支撑柱
为便于面板型材加工后取出,凹模镶件14与需加工的型材面板采取间隙配合。同时设计4个支撑柱15对压料板进行限位,压料板7的作用是避免面板型材在加工过程发生变形,对其进行压紧固定。
02 定位与斜锲结构设计
在缺口冲压过程中,面板型材的纵向定位以定位销实现,长边方向缺口与需加工的缺口长度相同,以定位销与其配合可以实现较好的纵向定位,在横向方向上,主要利用凹模镶件进行定位,如图3所示。

图3 定位结构

图4 斜锲结构
1.斜楔 2.滑块 3.垫板 4.导滑座 5.导杆 6.弹簧
由于面板型材的特殊性,短边外侧凹槽不能承受冲压力,对其冲裁采取水平方向,设计一种斜锲结构(见图4),将垂直运动转变成水平方向。在斜锲结构中,斜锲1向下运动带动滑块的水平运动,继而实现与滑块2相连的凸模水平运动。
03 模具工作原理
面板型材缺口模具工作原理:放入面板型材,纵向利用定位销8进行定位与固定,在横向则以凹模镶件14实现定位。上模座5向下运动,带动压料板7向下压紧面板,随之向下运行,并压紧面板型材,同时利用弹簧6固定,面板型材紧固在支撑柱15上。在凸模13运行的同时,对斜锲3产生作用力,使滑块进行水平移动,凸模13进而对面板型材进行冲压。冲压完毕后,凸模13与滑块回到初始位置。
面板型材特点:①利用定位销与凹模镶件实现纵向与横向的定位,同时以压料板支撑面板型材;②斜锲结构实现了垂直运动向水平运动的转变,解决面板型材外侧凹槽不能受压的问题。
2
样件试制
yangjianshizhi
在实际冲压过程中,对于缺口底边与正面会有凹模对其压紧定位,但上边没有压紧定位,会导致翘曲变形,这是由于切片形状的凸模(见图5)在冲裁过程中,会出现垂直凸模的力F,这个力会导致边缘翘曲变形。因此需要对凹模镶件进行改进,在凹模镶件上增加台阶,如图6所示,在冲裁过程中,上边会由于台阶的受力压紧,避免了翘曲变形。

图5 切片凸模

图6 凹模镶件
利用改进后的凹模镶件进行型材缺口加工,样件如图7所示,切口光滑平整,毛刺较少,满足加工要求。

图7 样件缺口加工
经投产验证,该模具生产效率较高,每天可冲裁约5000个,完全满足公司实际需求(年需几百万插件面板)。随着冲裁数量的增多,会出现凸模磨损,经过实际加工的估算,在冲裁约8万个插件面板时,凸模(材料DC53)磨损相对严重,需进行更换。
通过试验样件的制作,该面板型材缺口冲模达到预期要求,通过理论分析,结合所加工型材的要求,选出最优的解决方案,不仅可以提高设计效率,还为以后的量产提供理论支撑,面板型材由于其特殊性,要求精度较高,在实际加工中还需要考虑各种工艺因素,从而制定出最优的生产方案。
我们是知识搬运工,我们是技术传播者!
东莞潇洒职业培训学校开设课程有:CNC数控编程、塑胶模具设计,压铸模具设计、冲压模具设计, Solidworks/pro/E产品设计、AutoformR7工艺分析,非标自动化设计、PLC编程、文职、电商、平面设计、新媒体等培训课程,潇洒职业培训学校线下、线上、随到随学等学习方式,上班学习两不误,欢迎预约免费试学!
联系电话:18029183455(微信同号)QQ:2799669782
线上免费试学: xsmj.ke.qq.com
1;所有标注为智造资料网zl.fbzzw.cn的内容均为本站所有,版权均属本站所有,若您需要引用、转载,必须注明来源及原文链接即可,如涉及大面积转载,请来信告知,获取《授权协议》。
2;本网站图片,文字之类版权申明,因为网站可以由注册用户自行上传图片或文字,本网站无法鉴别所上传图片或文字的知识版权,如果侵犯,请及时通知我们,本网站将在第一时间及时删除,相关侵权责任均由相应上传用户自行承担。
[complaint:内容投诉]
智造资料网打造智能制造3D图纸下载,在线视频,软件下载,在线问答综合平台 » 面板型材缺口冲模设计,关键能减少毛刺!

