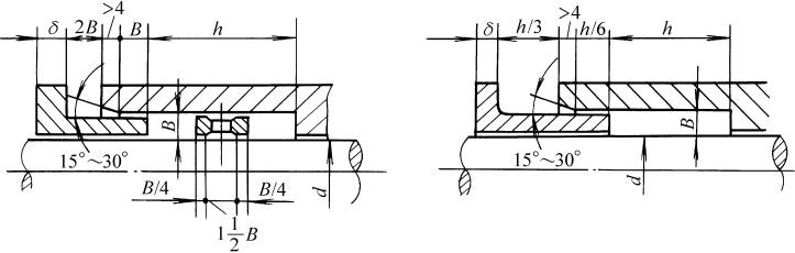
填料箱的主要结构尺寸

旋转轴用填料箱 往复柱塞杆用填料箱
项 目 | 符号 | 参数选择及说明 | ||||||
填料箱深度 | h/mm | 无封液环时: h = nB 有封液环时: h =(n+2)B | ||||||
填料截面宽度 | B/mm | B =(1.4~2) 计算后按填料规格尺寸圆整或按轴(杆)直径与密封填料宽度的关系选取 | ||||||
填料圈数 | n | 旋转 | 压力/MPa | 0.1 | 0.5 | 1.0 | >1.0 | |
圈数 | 3~4 | 4~5 | 5~7 | 采用双填料箱 | ||||
往复 | 压力/MPa | <1 | 1~3.5 | 3.5~7 | 7~10 | >10 | ||
圈数 | 3~4 | 4~5 | 5~6 | 6~7 | 7~8或更多 | |||
| 对固定不动的接管填料箱:n =2 | |||||||
填料压盖法兰厚度 | δ/mm | δ=0.75db | ||||||
压盖螺栓直径 | db/mm | db由压紧填料并达到密封所需的力来决定,见软填料的密封设计计算 | ||||||
免责声明:
1;所有标注为智造资料网zl.fbzzw.cn的内容均为本站所有,版权均属本站所有,若您需要引用、转载,必须注明来源及原文链接即可,如涉及大面积转载,请来信告知,获取《授权协议》。
2;本网站图片,文字之类版权申明,因为网站可以由注册用户自行上传图片或文字,本网站无法鉴别所上传图片或文字的知识版权,如果侵犯,请及时通知我们,本网站将在第一时间及时删除,相关侵权责任均由相应上传用户自行承担。
[complaint:内容投诉]
智造资料网打造智能制造3D图纸下载,在线视频,软件下载,在线问答综合平台 » 填料箱的主要结构尺寸(图文教程)
1;所有标注为智造资料网zl.fbzzw.cn的内容均为本站所有,版权均属本站所有,若您需要引用、转载,必须注明来源及原文链接即可,如涉及大面积转载,请来信告知,获取《授权协议》。
2;本网站图片,文字之类版权申明,因为网站可以由注册用户自行上传图片或文字,本网站无法鉴别所上传图片或文字的知识版权,如果侵犯,请及时通知我们,本网站将在第一时间及时删除,相关侵权责任均由相应上传用户自行承担。
[complaint:内容投诉]
智造资料网打造智能制造3D图纸下载,在线视频,软件下载,在线问答综合平台 » 填料箱的主要结构尺寸(图文教程)

