114型机械密封(图文教程)

    114型机械密封的主要尺寸           (mm)

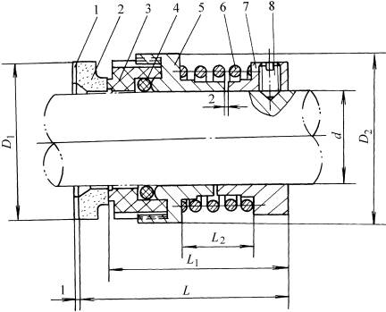
114型机械密封(图文教程),114型机械密封,尺寸,第1张

1—密封垫   2—静止环   3—旋转环   4—密封圈   5—推环   6—弹簧   7—弹簧座   8—紧定螺钉

规格

d

D1

D2

L

L1

L2

16

16

34

40

55

44

11

18

18

36

42

55

44

11

20

20

38

44

58

47

14

22

22

40

46

60

49

16

25

25

43

49

64

53

20

28

28

46

52

64

53

20

30

30

53

64

73

62

22

35

35

58

69

76

65

25

40

40

63

74

81

70

30

45

45

68

79

89

75

34

50

50

73

84

89

75

34

55

55

78

89

89

75

34

60

60

83

94

97

83

42

65

65

92

103

100

86

42

70

70

97

110

100

86

42

 

免责声明:
1;所有标注为智造资料网zl.fbzzw.cn的内容均为本站所有,版权均属本站所有,若您需要引用、转载,必须注明来源及原文链接即可,如涉及大面积转载,请来信告知,获取《授权协议》。
2;本网站图片,文字之类版权申明,因为网站可以由注册用户自行上传图片或文字,本网站无法鉴别所上传图片或文字的知识版权,如果侵犯,请及时通知我们,本网站将在第一时间及时删除,相关侵权责任均由相应上传用户自行承担。
[complaint:内容投诉]
智造资料网打造智能制造3D图纸下载,在线视频,软件下载,在线问答综合平台 » 114型机械密封(图文教程)