塑料模具设计教程_8-7薄膜挤出吹塑成型机头(图文教程)

一、机头结构形式
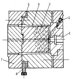
    芯棒式机头

塑料模具设计教程_8-7薄膜挤出吹塑成型机头(图文教程),塑料模具设计教程_8-7薄膜挤出吹塑成型机头,塑料模具,第1张

图8-26 芯棒式机头 

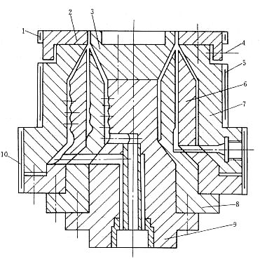
    中心进料的十字机头

塑料模具设计教程_8-7薄膜挤出吹塑成型机头(图文教程),塑料模具设计教程_8-7薄膜挤出吹塑成型机头,塑料模具,第2张

图8-27 中心进料的十字机头

    螺旋式机头

塑料模具设计教程_8-7薄膜挤出吹塑成型机头(图文教程),塑料模具设计教程_8-7薄膜挤出吹塑成型机头,塑料模具,第3张

图8-28螺旋式机头

    共挤出机头

塑料模具设计教程_8-7薄膜挤出吹塑成型机头(图文教程),塑料模具设计教程_8-7薄膜挤出吹塑成型机头,塑料模具,第4张

图8-29 共挤出机头 

二、机头零件工艺参数设计    

    1、口模与芯棒的单边间隙;

    2、口模定型段长度;

    3、吹胀比、牵引比和压缩比;

    4、缓冲槽尺寸;

    5、芯棒扩张角与分流线斜角。

三、吹塑薄膜的冷却定型
    吹塑薄膜的冷却定型的风环

塑料模具设计教程_8-7薄膜挤出吹塑成型机头(图文教程),塑料模具设计教程_8-7薄膜挤出吹塑成型机头,塑料模具,第5张

图8-30 吹塑薄膜的冷却定型的风环

该文章所属专题:塑料模具设计教程

免责声明:
1;所有标注为智造资料网zl.fbzzw.cn的内容均为本站所有,版权均属本站所有,若您需要引用、转载,必须注明来源及原文链接即可,如涉及大面积转载,请来信告知,获取《授权协议》。
2;本网站图片,文字之类版权申明,因为网站可以由注册用户自行上传图片或文字,本网站无法鉴别所上传图片或文字的知识版权,如果侵犯,请及时通知我们,本网站将在第一时间及时删除,相关侵权责任均由相应上传用户自行承担。
[complaint:内容投诉]
智造资料网打造智能制造3D图纸下载,在线视频,软件下载,在线问答综合平台 » 塑料模具设计教程_8-7薄膜挤出吹塑成型机头(图文教程)