本文主要介绍了新型刀柄式快换钻夹头结构组成、夹头性能以及刀柄式快换钻夹头技术的延伸与发展前景。该新型夹头具有无间隙、高刚性的特点,而且装卸刀具操作方便快捷。
快换钻孔攻螺纹夹头的可换套与主体的配合一般都是直插式配合,装卸时都是移动外圈达到插入和取下的目的,可换套与主体孔都有一定的配合间隙。要使快换夹头像数控刀柄一样无间隙、高精度,是我们一直以来追求的目标。我厂对快换夹头的研究已经有15年的历史,对国内外快换夹头有一定的研究,但是快换夹头刚性好的同时真正要达到无间隙,不是一件容易的事。经过长期的技术积累和无数次的试验以及反复修改优化,终于实现了一种全锥式插入方式,仿数控刀柄的无间隙精密快换夹头,并申请了国家发明专利。产品经过了近7年的使用,实践证明,该夹头性能可靠,真正做到了无间隙、高刚性、操作装卸刀具极其快捷。由于采用了仿数控连体刀柄结构,因此,使用时可以像数控刀柄一样挂在刀架上。这样,可以做到真正的文明生产,快换刀柄也不会再有互相磕碰损坏的情况出现了。
本文详细介绍这款刀柄式精密快换夹头,希望可以借此进行交流学习,让广大机械工人对该夹头有一个较为全面的了解。在钻、扩、铰、攻、挤等机械加工频繁换刀时,也可以对孔加工工艺、机床和工具有更多的选择方案,能够选择经济合适的机床加工完成复杂的孔,以降低加工成本、提高工效。
另外,申请专利时该夹头具有低压内冷却功能,但是由于目前钻床主轴都没有内出水,所以现在生产的夹头暂时不具备这项功能。
1. 刀柄式快换钻夹头结构
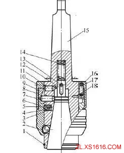
如图1~图3所示,可换刀柄和主体的配合为1∶3锥度配合。其结构原理为:当可换刀柄插入主体,接触到推杆时,推杆就向轴向内缩进去;当移动到可换刀柄头部连体拉钉凹处时,3个均布的斜压柱在斜压圈和弹簧的作用下,将斜压柱向径向轴心移动,依靠斜压柱头部与可换刀柄连体拉钉处配合的斜面接触,迫使可换刀柄向主体轴向移动,锥面紧贴配合。同时,当斜压圈在弹簧的作用下移动时, 也推动外压圈,外压圈在移动时迫使定位钢球向内缩,外压圈继续向下移动至挡圈位置时,3个均布的钢球就向径向内移动,至可换刀柄球窝内传递扭力。另外,可换刀柄均布球窝角度α一般取9°~18°,这样便于插入,如果是要求在高速下插入,α可以增加到30°。

图 1
1.挡圈 2、5.钢球 3.弹簧 4.固定圈
6.外压圈 7.斜压柱 8、14、17.弹簧
9.斜压圈 10.紧固螺钉 11.弹出销 12.推杆
13、18.弹性销 15.主体 16.外壳

图 2

图 3
1.可换刀柄 2.钢球 3.外压圈 4.主体
当卸下刀具时, 一手握着可换刀柄,一手将外压圈上移,当外压圈移动时就顶着斜压圈一同向上。同时,斜压柱沿着斜压圈斜面往径向外移动,推杆在弹簧的作用下恢复到前端,固定斜压柱,由弹性销控制推杆的移动距离,外压圈移动到上面时,钢球回弹复位,将外压圈定位在上面,钢球也退出球窝,取下可换刀柄。
另外,为了保证刀柄在使用中的更换可靠性,同时防止万一有微量切屑带入主体,导致可换刀柄被卡死在主体中,在斜压圈向上移动时,迫使3个均布弹出销的斜面向径向内与推杆内侧外径斜角接触,依靠斜面起到使可换刀柄强制弹出的作用;弹性销与斜压圈滑槽配合,是为了防止夹头不停车使用时斜压圈转动移位。
2. 刀柄式快换钻夹头的性能及使用
由于直柄钻头采用了ER筒夹装夹,因此刚性足,平面钻孔钻头满5mm就无需钻预孔,不会出现偏移现象。我公司在炮塔铣上采用8mm硬质合金钻头钻孔,不钻预孔,采用普通切削液,选取转速2 220r/m in,材料GCr15球化退火状态,实际钻孔尺寸为8.01mm。另外,NT主体夹头可以进行锪平轻铣加工。任何柄部主体夹头均可以进行斜面锪平、立铣刀半边钻等加工。
该夹头攻螺纹部分(见图4)均采用最新设计的双向伸缩主体可换刀柄,具有外径小巧的特点。如M8~M30攻螺纹主体,直径D1=54mm,L1=79mm,便于握拿操作,全部配套标准扭力安全攻螺纹夹头。而另外一种扭力攻螺纹刀柄的长度更短,中号L1仅为33mm。外压圈不是向轴向移动压住攻螺纹夹头,而是以旋转的方式卡住夹头,靠扭簧来实现复回,装卸非常方便。丝攻插入扭力夹头后伸出距离与钻头相当。

图 4
1.攻螺纹刀柄 2.弹簧 3.钢球 4.固定圈
5.螺钉 6.丝攻 7.扭力夹头 8.扭簧
9.外压圈 10.移动套 11.固定套
12.内六角圆柱头螺钉
在更换便捷性方面, 夹头与普通快换夹头有着本质的区别,插入可以单手操作,插入后夹头无间隙,插入过程在一瞬间完成。在精度方面,经过实际检测钻头跳动,距主体孔外90mm处,跳动为0.012mm,其主要为机床、夹头和ER夹头的积累误差。
在夹头装卸刀具空间尺寸方面,该夹头也有着明显的优点。由于是锥孔配合,可换刀柄的装卸实际距离比普通快换夹头短得多,因为可换刀柄可以斜着进出装卸,如中号的刀柄装卸最短安全距离仅为45mm,这样可以节约机床工作台的空间。
该夹头特别适用于精度比较高的普通钻床、炮塔铣、无自动换刀的数控钻床和镗床。若需要自紧钻夹头或普通钻夹头装夹钻头,则在莫氏孔可换刀柄中加接杆即可。
刀柄搁架( 见图5 、图6 )是此快换夹头的一种加工时方便操作的辅助附件,使用时应该放于拿握刀柄操作顺手的那一侧,可以防止刀具互相磕碰损坏,提高工效。刀柄搁架由于包装的原因,只提供4个刀柄位置,如果一次工艺要求刀柄使用较多,可以使用两个搁架连接。搁架下面的支架需要自行安装,具体如图6所示。整个搁架由搁板、M6螺钉螺母、4mm×4mm角铁、支架、铁管、紧固螺钉和底板组成,高度根据情况可以调节。角铁与支架的连接可以采用电焊。

图 5 刀架

图 6 刀架示意图
1.搁板 2.M6螺钉螺母 3.4mm×4mm角铁
4.支架 5.铁管 6.紧固螺钉 7.底板
直柄刀具的装夹有专门的装卸套附件(见图7),把装卸套放在台钳上面夹住,然后把ER可换刀柄插入其中,移动外压圈即可使用。如此,刀具的装夹可以不在机床上进行,保证安全。

图7 装卸套
1.钢丝挡圈 2.本体 3.外压圈
4.钢球 5.阻尼钢丝
莫氏锥柄刀具的装夹有保护套(见图8)配合使用,由于莫氏锥柄刀具属于小锥度自锁方式,插入可换刀柄时需要一定的外力,而卸下来时需要斜铁敲击,所以必须要和保护套附件一起使用,这样可以保证莫氏可换刀柄不会敲击损坏。

图8 莫氏刀柄装卸保护套
该夹头在使用时必须保持夹头清洁和文明生产。夹头插入机床主轴孔时,必须将夹头柄部的防锈油擦净,并把机床主轴孔擦净。如果有毛刺或者接触不良的现象,要及时进行处理,有条件的可以用检测棒检测精度,然后握住夹头外壳用小力插入即可;大号规格无法手握的,可以将夹头放在工作台上,垫上平整软铁,对准后轻轻操作即可,严禁野蛮操作,以防止夹头损坏、丧失精度。在摇臂钻上使用时,移动摇臂时千万要注意零件的高度,防止与工件相撞损坏夹头。在加工铸铁零件有粉尘的情况下,要求每天卸下并在煤油中浸泡清洗,清洗时可以移动外压圈和用小铁棒移动推杆多次,让脏污排出,并适当擦一点防锈油。加工钢件时则视情况而定进行清洗,如果是不停车使用,则需要在老师傅的指导下进行,确保操作安全。如果长期停用,夹头应该涂防锈油保存。
此全锥式配合快换夹头最大的制造难点在于精磨主体锥孔,由于孔的大小头相差非常大,且砂轮小,磨削效率低;并且孔比较深,孔表面硬度又达60HRC。因此,此夹头内孔的加工难度比7∶24主轴孔难度还要大得多。以中号主体为例, 孔小头直径17mm,而大头有44mm。主体内孔不仅是要保证很低的表面粗糙度值和圆度,还要保证孔的尺寸精度在很小的范围误差内,这样才能使可换刀柄有良好的互换性和插入始终在统一的深度。我公司设计了专门的工艺检测工具来保证这个最关键的部分,确保了夹头的整体性能。
3. 基于刀柄式快换夹头系统的新型钻床项目
新型钻床项目是基于刀柄式快换夹头系统优异的性能而延伸出来的一种产品,也是这个技术的最终产品。由于该快换夹头系统的可换刀柄采用了全锥形仿数控刀柄式连接,性能优异、连接可靠、精度高,使用寿命长,不容易磨损。因此,可以作为一种新的以手动更换刀具钻床类机床刀柄与机床主轴的连接技术,生产立式钻床、摇臂钻床及经济型数控钻床等其他钻孔机床。机床可分为普通快换式和内冷却快换式两个系列。
普通钻孔类机床, 刀具与主轴的连接一般均为莫氏锥孔方式。传统莫氏锥孔主轴刀具的装夹特点是利用很小的锥度自锁角度将刀具柄部锁紧。当卸下来时,在莫氏锥柄尾部的传动扁部用卸套器(斜铁)用外力将其敲击,使刀具卸下。这种传统莫氏锥柄孔主轴连接刀具的钻床缺点是:①刀具装卸麻烦。②主轴精度经长期敲击后容易丧失。③无法使用内冷却刀具。
虽然目前立式钻床和摇臂钻床为了提高工效,大部分使用了快换夹头。但是,存在着使用快换夹头刀具伸出机床主轴的长度增加,导致刀具刚性差,以及积累误差使得整体主轴精度大大降低,并且普通快换夹头使用寿命比较短、夹头间隙大,机床工作台与主轴的行程也会抑制或无法使用快换夹头等缺点。
新型钻床的特点是将主轴直接做成一种新型快换夹头方式的钻床。这种钻床的主轴不再是莫氏锥孔,而是快换夹头的主体部分。并且只有这样的结构,才可以实现经济型内冷却钻床。
该新型钻床的优点: ① 刀具更换快捷,主轴孔即是刀柄式快换夹头。②由于没有了像莫氏锥孔主轴一样刀具装卸时对主轴的敲击,主轴自身的精度能够持久。③每一样刀具都可以以快换夹头的方式装夹,大部分刀具均可以实现内冷却。这样,不但可以推动普通内冷却莫氏锥柄高速钢麻花钻头的产业化,也可以使普通钻床能够使用先进的数控刀具。④由于可以大量使用内冷却刀具,使得刀具损耗大大降低,工作效率和产品质量大大提高,提高效益、节约资源。
新型快换夹头式钻床是机械制造装备行业发展的方向,能够充分体现出现代机械加工制造的高效率、高精度,并且可以为国家节约大量的刀具材料和刀具成本,经济效益和社会效益不可估量。该刀柄式快换夹头技术的开发,为无需外动力来源的快换刀具式新型钻床的研制奠定了基础,可将普通机床的整体性能提高到一个新的高度。
4. 结语
该夹头是全锥式连接快换夹头,具有精度高、刚性好和装卸快捷的特点。希望今后能够与钻床厂合作,尝试开发新型的经济型数控钻床,其主轴直接采用快换夹头方式,并且可以实现内冷却。同时,也可以开发普通立式快换夹头式钻床和摇臂钻床。
朱明,《金属加工》冷加工2016第17期
1;所有标注为智造资料网zl.fbzzw.cn的内容均为本站所有,版权均属本站所有,若您需要引用、转载,必须注明来源及原文链接即可,如涉及大面积转载,请来信告知,获取《授权协议》。
2;本网站图片,文字之类版权申明,因为网站可以由注册用户自行上传图片或文字,本网站无法鉴别所上传图片或文字的知识版权,如果侵犯,请及时通知我们,本网站将在第一时间及时删除,相关侵权责任均由相应上传用户自行承担。
[complaint:内容投诉]
智造资料网打造智能制造3D图纸下载,在线视频,软件下载,在线问答综合平台 » 刀柄式快换钻夹头技术的延伸与发展前景(图文教程)

